授权公布号:CN113215719B
一种高速经编机梳栉横移组件的装配工装
有效
申请
2021-04-20
申请公布
2021-08-06
授权
2022-09-13
预估到期
2041-04-20
| 申请号 | CN202110425966.X |
| 申请日 | 2021-04-20 |
| 申请公布号 | CN113215719A |
| 申请公布日 | 2021-08-06 |
| 授权公布号 | CN113215719B |
| 授权公告日 | 2022-09-13 |
| 分类号 | D04B27/26 |
| 分类 | 编织;花边制作;针织;饰带;非织造布; |
| 申请人名称 | 五洋纺机有限公司 |
| 申请人地址 | 江苏省常州市武进区高新区新知路6号 |
专利法律状态
2022-09-13
授权
状态信息
授权
2021-08-06
公布
状态信息
公布
摘要
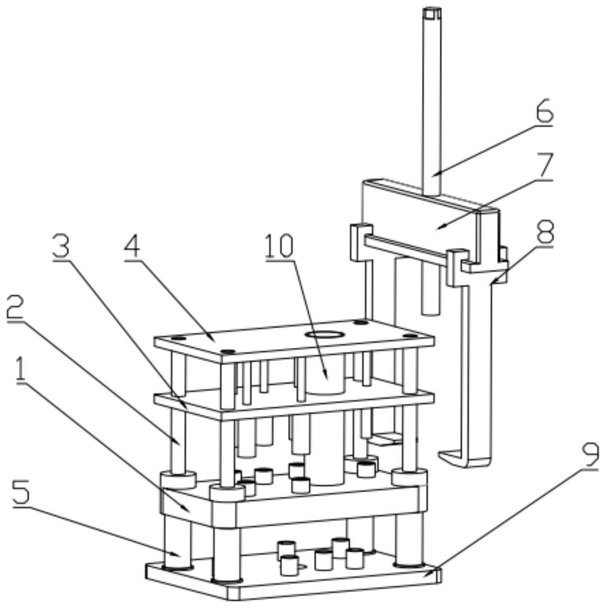
本发明公开了一种高速经编机梳栉横移组件装配工装,包括定位板、第一压板、第一导柱、拉取机构、定位柱、第二压板、第二导柱、第三压板、第三导柱、定位辅助销;所述定位板的上下端面安装有第一导柱与第二导柱,所述第一压板与第二压板套接在第一导柱上,所述第三压板套接在第二导柱上,并可沿所述导柱上下滑动;所述定位板中心连接有可拆卸的定位柱;所述定位销连接在定位板下表面的相应定位孔上用于工件定位;所述第三导柱作为第二导柱的替代与第三压板以及其上的定位辅助销配合工作,并外设独立的拉取机构以定位柱为支撑用于工件与工装的拆卸;本发明的装配工装在保证装配精度的同时提升了装配效率。


