授权公布号:CN108385247B
喷气织机的集尘系统和方法
有效
申请
2018-05-28
申请公布
2018-08-10
授权
2024-02-09
预估到期
2038-05-28
| 申请号 | CN201810522068.4 |
| 申请日 | 2018-05-28 |
| 申请公布号 | CN108385247A |
| 申请公布日 | 2018-08-10 |
| 授权公布号 | CN108385247B |
| 授权公告日 | 2024-02-09 |
| 分类号 | D03D47/30;D03J1/00 |
| 分类 | 织造; |
| 申请人名称 | 神马实业股份有限公司 |
| 申请人地址 | 河南省平顶山市卫东区建设中路63号 |
专利法律状态
2024-02-09
授权
状态信息
授权
2018-09-04
实质审查的生效
状态信息
实质审查的生效;IPC(主分类):D03D47/30;申请日:20180528
2018-08-10
公布
状态信息
公布
摘要
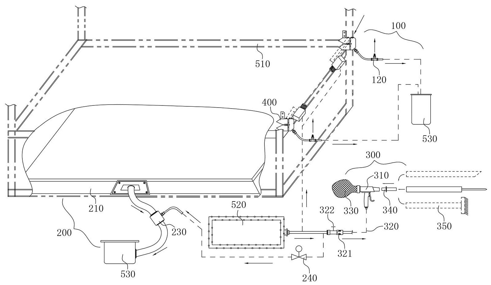
本发明属于喷气织机技术领域。一种喷气织机的集尘系统和方法,包括上部集尘组件、下部集尘组件和集尘箱,上部集尘组件包括设置在折边器上的排气孔和连通设置在排气孔上的排气管道,靠近排气孔的排气管道上连通设置有稳压组件;下部集尘组件包括设置在喷气织机下部的集尘壳体、连接设置在集尘壳体上的集尘吸管和负压抽吸单元。本发明能够节约能源、节约备件、保证了职工健康、提高了车间环境、除尘效果良好,从根本上解决了喷气织机生产时产生棉尘造成的安全隐患,减少了清洁机台和维修机台的频率和停车时间,提高了产量和质量,同时延长了备件使用周期,提高了设备性能和产品的质量。


