授权公布号:CN219568169U
一种防筒管跳管的捻线机上插丝锭结构
有效
申请
2023-05-23
申请公布
1970-01-01
授权
2023-08-22
预估到期
2033-05-23
| 申请号 | CN202321259655.1 |
| 申请日 | 2023-05-23 |
| 授权公布号 | CN219568169U |
| 授权公告日 | 2023-08-22 |
| 分类号 | D01H13/10;D01H1/18 |
| 分类 | 天然或人造的线或纤维;纺纱或纺丝; |
| 申请人名称 | 神马实业股份有限公司 |
| 申请人地址 | 河南省平顶山市卫东区建设中路63号 |
专利法律状态
2023-08-22
授权
状态信息
授权
摘要
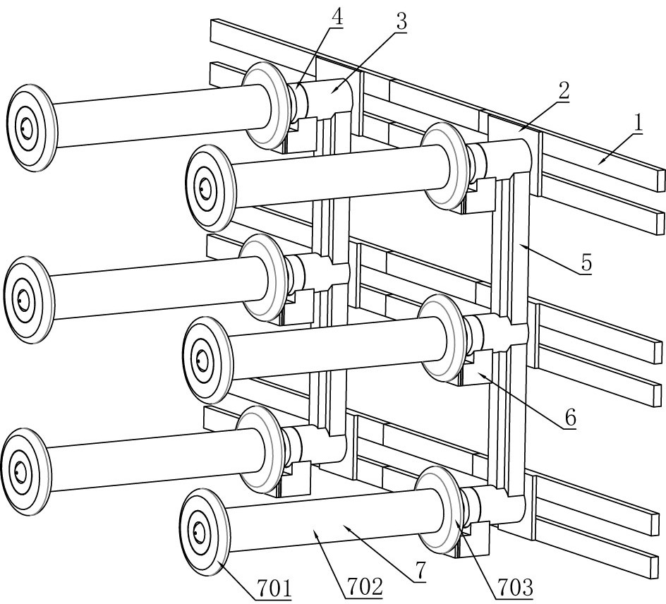
本实用新型涉及捻线机技术领域,具体涉及一种防筒管跳管的捻线机上插丝锭结构,包括捻线机连板,所述捻线机连板上固定有固定板,所述固定板一侧设有锭杆墩,所述锭杆墩一端设有尼龙垫片,所述锭杆墩一端连接有上插丝锭,所述上插丝锭外侧套设有初捻铜管,所述锭杆墩下方设有张力控制装置,所述张力控制装置呈“L”形,所述张力控制装置竖直段上端开设有连接槽,所述连接槽呈弧形,所述张力控制装置水平段的端部设有粘性层,所述粘性层上连接有张力垫片。本实用新型通过张力控制装置稳定初捻铜管退绕张力,使张力更趋均匀一致,从而避免出现跳管现象,有效的解决了初捻铜管退绕过程中张力不匀的问题,稳定了产品质量,减少了不良品率。


