授权公布号:CN218772477U
一种具有整流构件的柔性发热部件
有效
申请
2022-08-31
申请公布
1970-01-01
授权
2023-03-28
预估到期
2032-08-31
| 申请号 | CN202222328786.2 |
| 申请日 | 2022-08-31 |
| 授权公布号 | CN218772477U |
| 授权公告日 | 2023-03-28 |
| 分类号 | H05B3/34;H05B3/02;H05B1/00 |
| 分类 | 其他类目不包含的电技术; |
| 申请人名称 | 成都彩虹电器(集团)股份有限公司 |
| 申请人地址 | 四川省成都市武侯区武侯大道顺江段73号 |
专利法律状态
2023-03-28
授权
状态信息
授权
摘要
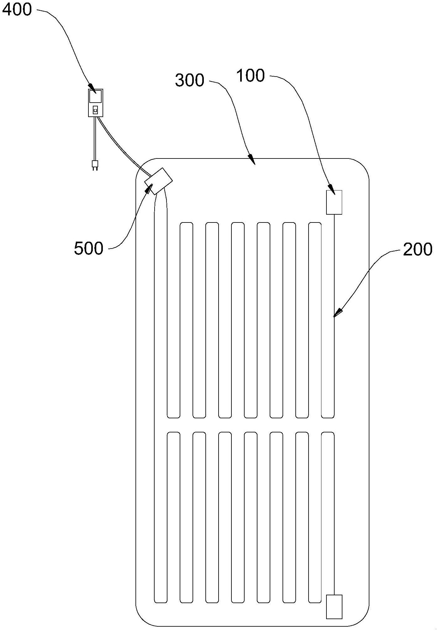
一种具有整流构件的柔性发热部件,涉及发热构件领域,包括:整流构件,整流构件和双层螺旋发热线均置于支撑部件的内部,双层螺旋发热线的首端在接线盒内同控制器的电连接软线电连接,双层螺旋发热线的末端在接线盒外与整流构件电连接。其不但能解决多温区电热毯进入接线盒的发热线并行行道多的问题,还可以灵敏地反馈双层螺旋发热线的内外发热丝之间的绝缘故障,以便控制器迅速实施保护。在使用舒适性的基础上提高了使用的安全性。


