授权公布号:CN215602683U
一种可调式外置过滤器
有效
申请
2021-06-16
申请公布
1970-01-01
授权
2022-01-25
预估到期
2031-06-16
| 申请号 | CN202121339093.2 |
| 申请日 | 2021-06-16 |
| 授权公布号 | CN215602683U |
| 授权公告日 | 2022-01-25 |
| 分类号 | A01K63/04 |
| 分类 | 农业;林业;畜牧业;狩猎;诱捕;捕鱼; |
| 申请人名称 | 中山市松宝电器有限公司 |
| 申请人地址 | 广东省中山市小榄镇联丰路 |
专利法律状态
2022-01-25
授权
状态信息
授权
摘要
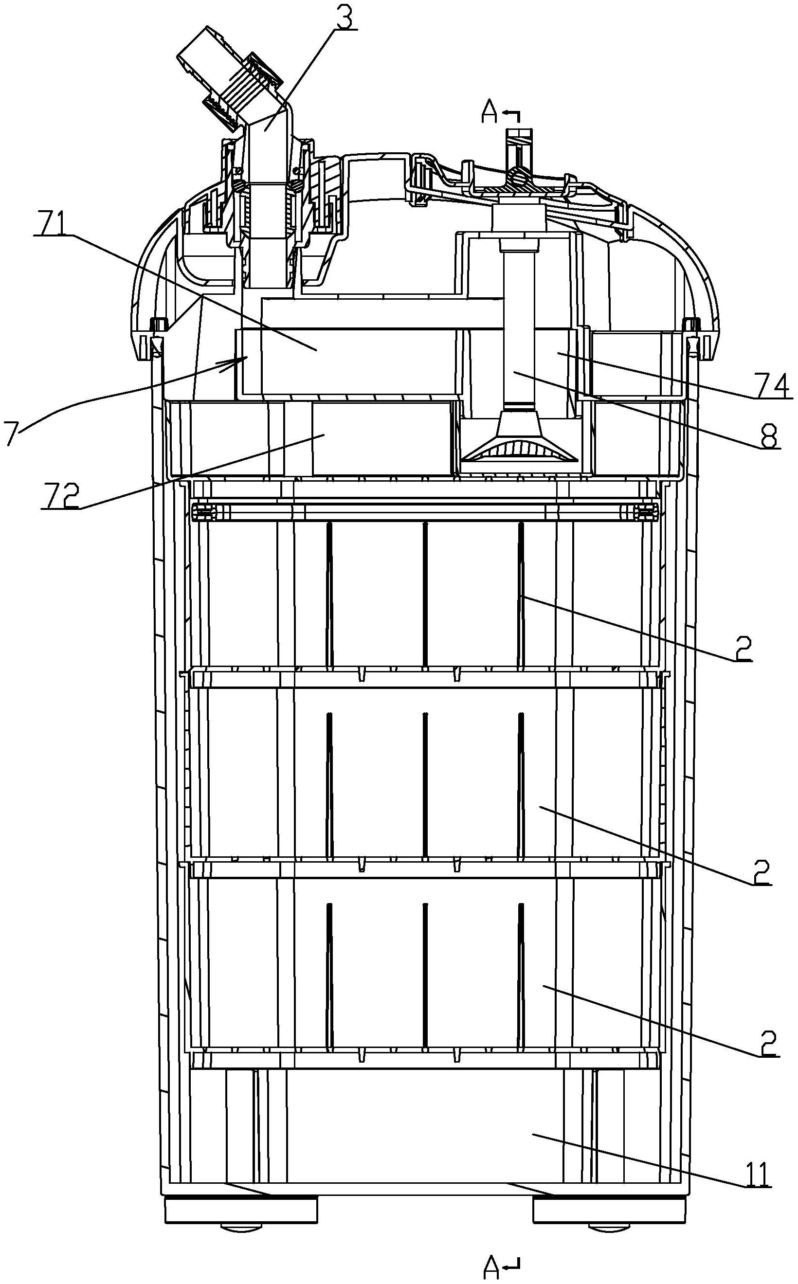
本实用新型涉及一种可调式外置过滤器,包括壳体,壳体内设有过滤腔,壳体内从上至下层叠有多层过滤层,壳体上设有进水管和出水管,壳体内位于最上层过滤层的上方设有连通过滤腔和出水管的出水通道,出水通道内设有水泵,壳体内还设有一端连通进水管、另一端伸入到过滤腔底部的进水通道,壳体上设有伸入到进水通道内能对进水通道形成负压的打气杆,其技术要点为,壳体上设有能控制进水管和进水通道之间、出水管和出水通道之间水流量的调节阀。本实用新型结构简单,能够控制进水和出水的水流量,使用方便。


