授权公布号:CN215352330U
一种蜂王浆生产用过滤装置
有效
申请
2021-05-13
申请公布
1970-01-01
授权
2021-12-31
预估到期
2031-05-13
| 申请号 | CN202121019846.1 |
| 申请日 | 2021-05-13 |
| 授权公布号 | CN215352330U |
| 授权公告日 | 2021-12-31 |
| 分类号 | B01D29/64;B01D29/50;B01D29/94 |
| 分类 | 一般的物理或化学的方法或装置; |
| 申请人名称 | 上海森蜂园蜂业有限公司 |
| 申请人地址 | 上海市奉贤区柘林镇发工路999号 |
专利法律状态
2021-12-31
授权
状态信息
授权
摘要
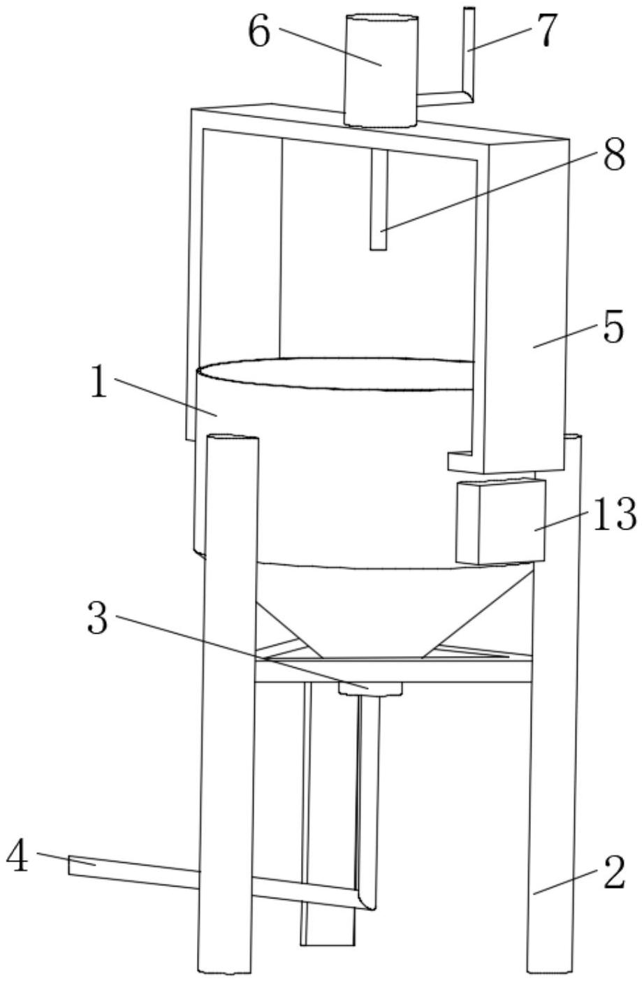
本实用新型揭示了一种蜂王浆生产用过滤装置,包括过滤桶与支撑腿,过滤桶底端设有排出口与排出管,过滤桶上端设有输入泵,且输入泵上设有进料管与注入管,过滤桶左右两侧对称设有收集盒,过滤桶内部设有第一过滤网、第二过滤网以及第三过滤网,第三过滤网中心处安装有安装轴,安装轴外壁上设有若干对刮杆,安装轴上端设有从动轮,从动轮上传动连接有传动带,传动带贯穿过滤桶内壁并传动连接有主动轮,主动轮上传动连接有驱动电机。本实用新型结构设计合理,通过多层过滤网对蜂王浆进行多级过滤,且设置通过刮杆对过滤网上的杂质进行清理,避免过滤网堵塞,以保证过滤网的过滤效果,且设置收集盒对杂质进行收集,安全卫生。


