授权公布号:CN213095984U
一种蜜炼果汁提取装置
有效
申请
2020-09-23
申请公布
1970-01-01
授权
2021-05-04
预估到期
2030-09-23
| 申请号 | CN202022101353.4 |
| 申请日 | 2020-09-23 |
| 授权公布号 | CN213095984U |
| 授权公告日 | 2021-05-04 |
| 分类号 | A23N1/00;B01D29/01;B01D29/96 |
| 分类 | 其他类不包含的食品或食料;及其处理; |
| 申请人名称 | 杭州蜂之语蜂业股份有限公司 |
| 申请人地址 | 浙江省杭州市桐庐县乔林路898号 |
专利法律状态
2021-05-04
授权
状态信息
授权
摘要
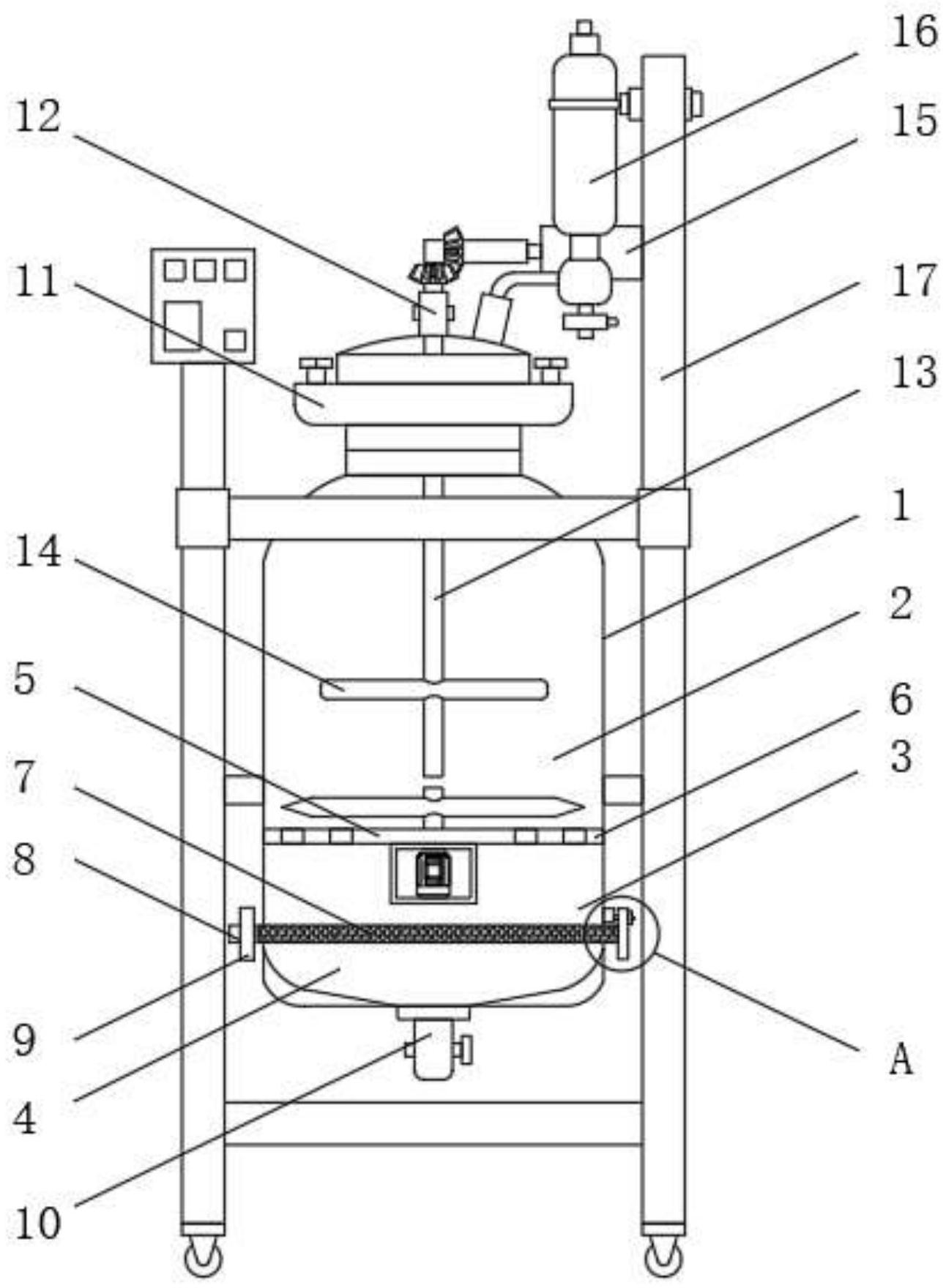
本实用新型公开了一种蜜炼果汁提取装置,包括装置主体,所述装置主体的内部包括搅拌腔、过滤腔和提取腔,所述装置主体的内部三分之二处固定连接有隔板,所述隔板的两侧均开设有滤液孔,所述装置主体的内部六分之五处设置有滤网,所述滤网的两端贯穿于装置主体,所述滤网的一端固定连接有螺纹块;通过设计的滤网、螺纹块、第一螺纹环、固定板和安装块便于对果汁提取过程中的滤网进行拆卸清洗,且拆卸清洗后的滤网能够再次便于安装,防止蜜炼果汁提取过程中的滤网无法清洗从而容易滋生细菌,解决了滤网难以拆卸的问题,具有很好的发展前景。


