授权公布号:CN217794243U
一种全氟己酮灭火装置
有效
申请
2022-08-02
申请公布
1970-01-01
授权
2022-11-15
预估到期
2032-08-02
| 申请号 | CN202222012548.0 |
| 申请日 | 2022-08-02 |
| 授权公布号 | CN217794243U |
| 授权公告日 | 2022-11-15 |
| 分类号 | A62C31/02;A62C31/28 |
| 分类 | 救生;消防; |
| 申请人名称 | 湖北江荆消防科技股份有限公司 |
| 申请人地址 | 湖北省荆州市江陵县工业园区东环路 |
专利法律状态
2022-11-15
授权
状态信息
授权
摘要
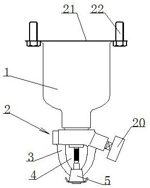
本实用新型涉及一种全氟己酮灭火装置,属于灭火设备技术领域。该全氟己酮灭火装置,包括耐压瓶体和喷射头;耐压瓶体的出口端螺纹连接有喷射头;所述的喷射头包括喷射座、支撑螺杆和密封堵头;所述的耐压瓶体的下端螺纹连接有喷射座;喷射座的下端设置有装配孔;装配孔下方的喷射座上设置有分流体;装配孔上方的喷射座上设置有主导流孔;主导流孔与耐压瓶体连通;主导流孔与耐压瓶体出口之间压装有雾化机构;主导流孔的下端压装有密封堵头。该全氟己酮灭火装置,结构紧凑、设计巧妙,解决了现有全氟己酮灭火装置存有的灭火覆盖面积相对较小导致的灭火效果差的问题,特别适合通信电力领域灭火使用的需要。


