授权公布号:CN110454019B
一种用于家具的位置调节机构
有效
申请
2019-08-28
申请公布
2019-11-15
授权
2024-03-26
预估到期
2039-08-28
| 申请号 | CN201910804794.X |
| 申请日 | 2019-08-28 |
| 申请公布号 | CN110454019A |
| 申请公布日 | 2019-11-15 |
| 授权公布号 | CN110454019B |
| 授权公告日 | 2024-03-26 |
| 分类号 | E05D15/06;E06B3/50 |
| 分类 | 锁;钥匙;门窗零件;保险箱; |
| 申请人名称 | 广东东泰五金精密制造有限公司 |
| 申请人地址 | 广东省佛山市顺德区勒流镇勒流港工业路 |
专利法律状态
2024-03-26
授权
状态信息
授权
2019-11-15
公布
状态信息
公布
摘要
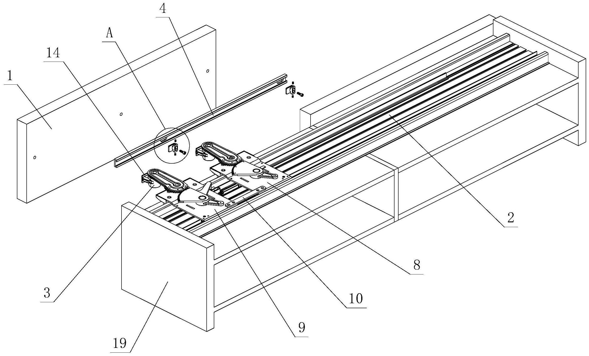
一种用于家具的位置调节机构,包括家具门体、滑动装置、引导滑轨,滑动装置一端滑动设置在引导滑轨上,另一端设置有连接件,家具门体上设置有装配件,滑动装置通过连接件与家具门体的装配件转动或摆动连接;滑动装置与连接件之间、和/或连接件与装配件之间、和/或装配件与家具门体之间设置有位置调节件;滑动装置与连接件之间、和/或连接件与装配件之间、和/或装配件与家具门体之间通过位置调节件至少实现相互的纵向和/或横向位置调节。本发明通过上述结构的改良,具有结构简单合理,性能可靠,使用寿命长,拆装过程快速、方便,外观简洁、精美,开闭过程平稳、顺畅、用力小,制造成本低、易生产、易实现且安全可靠等特点,实用性强。


