授权公布号:CN108798328B
一种埋入式铰链结构
有效
申请
2018-07-05
申请公布
2018-11-13
授权
2024-03-15
预估到期
2038-07-05
| 申请号 | CN201810731289.2 |
| 申请日 | 2018-07-05 |
| 申请公布号 | CN108798328A |
| 申请公布日 | 2018-11-13 |
| 授权公布号 | CN108798328B |
| 授权公告日 | 2024-03-15 |
| 分类号 | E05D11/10;E05F5/08;E05F5/10 |
| 分类 | 锁;钥匙;门窗零件;保险箱; |
| 申请人名称 | 广东东泰五金精密制造有限公司 |
| 申请人地址 | 广东省佛山市顺德区勒流镇勒流港工业路 |
专利法律状态
2024-03-15
授权
状态信息
授权
2018-11-13
公布
状态信息
公布
摘要
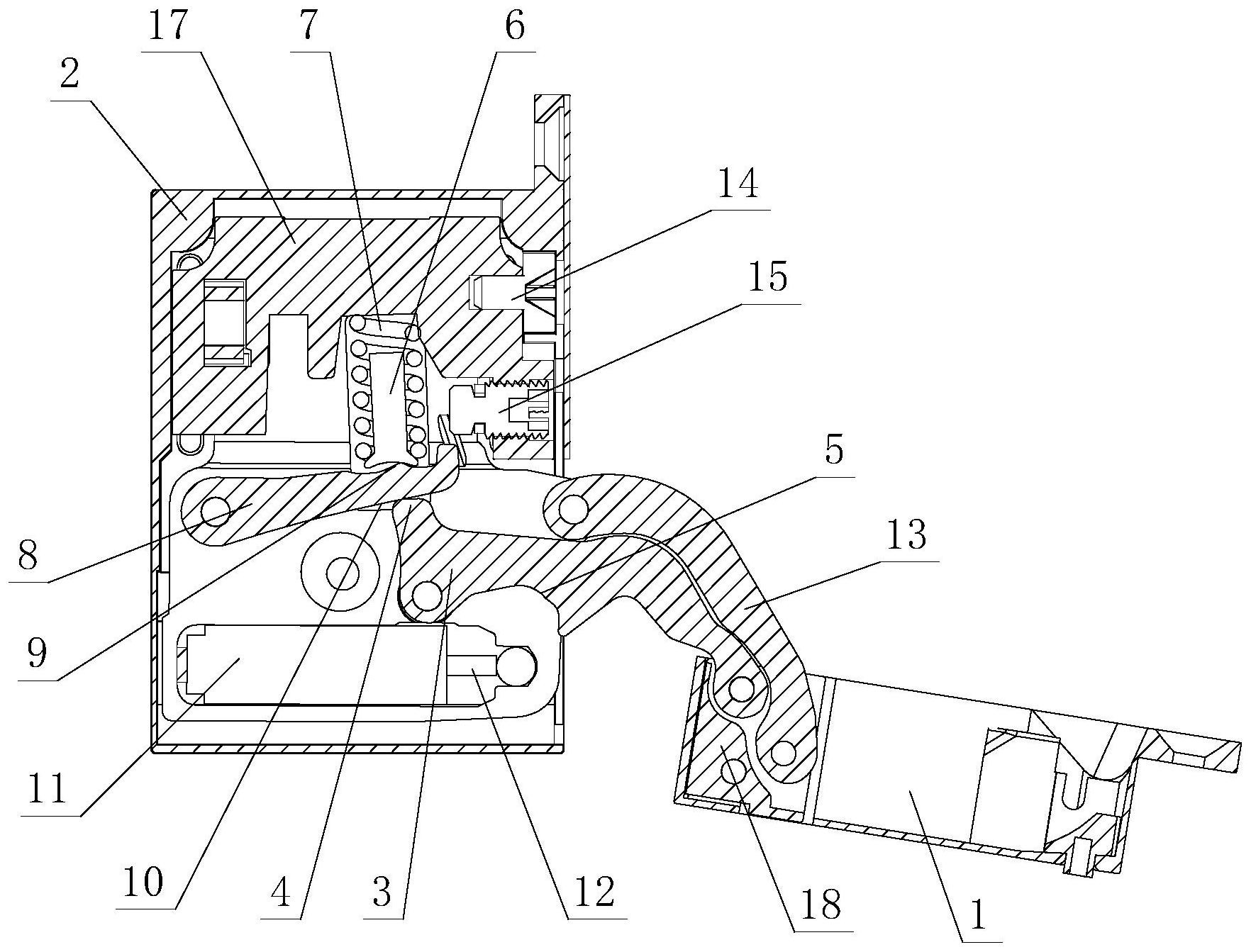
一种埋入式铰链结构,包括通过连接臂组件相互铰接开闭配合的铰杯和固定支架,固定支架上设置有弹性装置和阻尼器,连接臂组件至少包括第一连接臂,第一连接臂两端分别与铰杯、固定支架转动连接,第一连接臂上设置有弹性作用部和阻尼作用部;第一连接臂在铰杯相对固定支架铰接打开和/或关闭一定位置时通过弹性作用部与弹性装置相互作用,以实现铰杯相对固定支架的弹性铰接打开和/或关闭;第一连接臂在铰杯相对固定支架铰接关闭一定位置时至少通过阻尼作用部和阻尼器相互作用,以实现铰杯相对固定支架的阻尼铰接关闭。本发明通过上述结构的改良,具有结构简单合理,性能可靠,制造成本低,生产实施容易,开合顺畅、无碰撞,使用寿命长且安全可靠等特点,实用性强。


