授权公布号:CN217424174U
一种铰链外壳多位组合检具
有效
申请
2022-05-25
申请公布
1970-01-01
授权
2022-09-13
预估到期
2032-05-25
| 申请号 | CN202221280002.7 |
| 申请日 | 2022-05-25 |
| 授权公布号 | CN217424174U |
| 授权公告日 | 2022-09-13 |
| 分类号 | G01B5/00;G01B5/18;G01B5/20 |
| 分类 | 测量;测试; |
| 申请人名称 | 广东星鹏实业有限公司 |
| 申请人地址 | 广东省揭阳市榕城区新苏村 |
专利法律状态
2022-09-13
授权
状态信息
授权
摘要
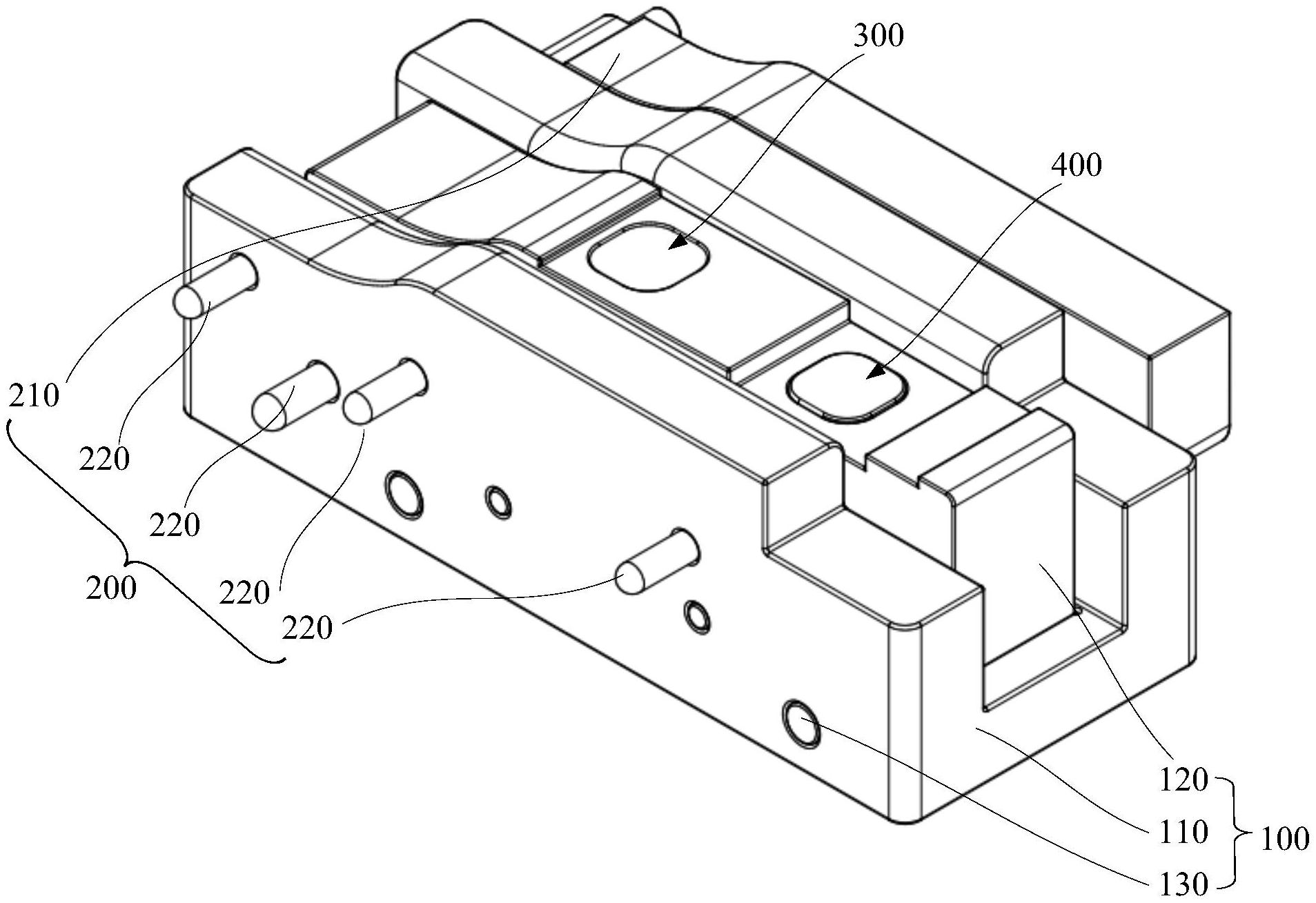
本实用新型公开了一种铰链外壳多位组合检具,包括检测体一、检测体二、深度检测块一和深度检测块二,检测体一能支撑铰链外壳,用于检测铰链外壳的整体成型尺寸及开口尺寸;检测体二用于检测铰链外壳的侧孔的形状尺寸和位置尺寸,并能与所述检测体一能拆卸连接后固定铰链外壳;深度检测块一设置在检测体一上,并能沿着检测体一高度方向上下移动,用于检测铰链外壳顶部的圆孔的下凹深度;深度检测块二设置在检测体一上,并能沿着检测体一高度方向上下移动,用于检测铰链外壳顶部的方孔的下凹深度。本铰链外壳多位组合检具,能方便对铰链外壳的整体尺寸及孔位等相关尺寸分别检测或组合检测,从而提高检测工效及检测效果。


