授权公布号:CN212054222U
快装式平开窗传动机构
有效
申请
2020-03-13
申请公布
1970-01-01
授权
2020-12-01
预估到期
2030-03-13
| 申请号 | CN202020308045.6 |
| 申请日 | 2020-03-13 |
| 授权公布号 | CN212054222U |
| 授权公告日 | 2020-12-01 |
| 分类号 | E05C17/30;E05B15/00 |
| 分类 | 锁;钥匙;门窗零件;保险箱; |
| 申请人名称 | 浙江瑞德建筑五金有限公司 |
| 申请人地址 | 浙江省丽水市莲都区水阁工业园区石牛路79号 |
专利法律状态
2020-12-01
授权
状态信息
授权
摘要
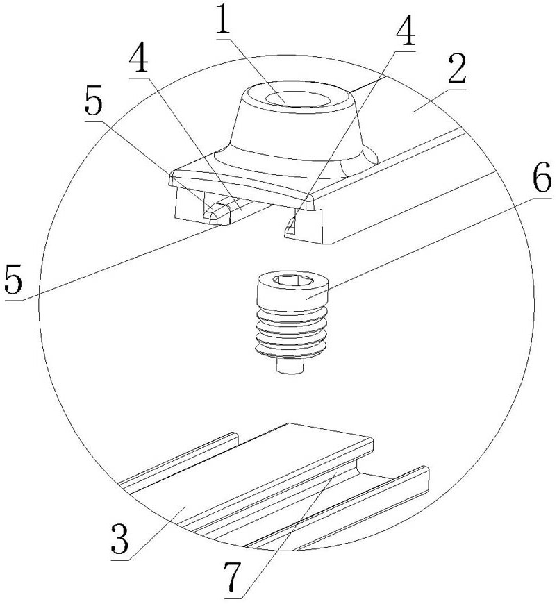
本实用新型公开了快装式平开窗传动机构,包括伸缩杆(2)和活动型材(3),其特征在于:所述伸缩杆(2)上设置有插脚(4),所述活动型材(3)上开设供所述插脚(4)卡入的滑槽(7),所述伸缩杆(2)上开设有第一螺纹孔(1),所述第一螺纹孔(1)内螺接有顶丝(6),所述顶丝(6)的末端嵌入到所述活动型材(3)内。本实用新型结构简单,设计合理,能够够实现伸缩杆和活动型材的快速组装和更换。


