授权公布号:CN219820612U
一种吸塑成型机
有效
申请
2023-03-20
申请公布
1970-01-01
授权
2023-10-13
预估到期
2033-03-20
| 申请号 | CN202320583405.7 |
| 申请日 | 2023-03-20 |
| 授权公布号 | CN219820612U |
| 授权公告日 | 2023-10-13 |
| 分类号 | B29C51/30 |
| 分类 | 塑料的加工;一般处于塑性状态物质的加工; |
| 申请人名称 | 倍威实业(嘉兴)有限公司 |
| 申请人地址 | 浙江省嘉兴市经济技术开发区丰华路997号 |
专利法律状态
2023-10-13
授权
状态信息
授权
摘要
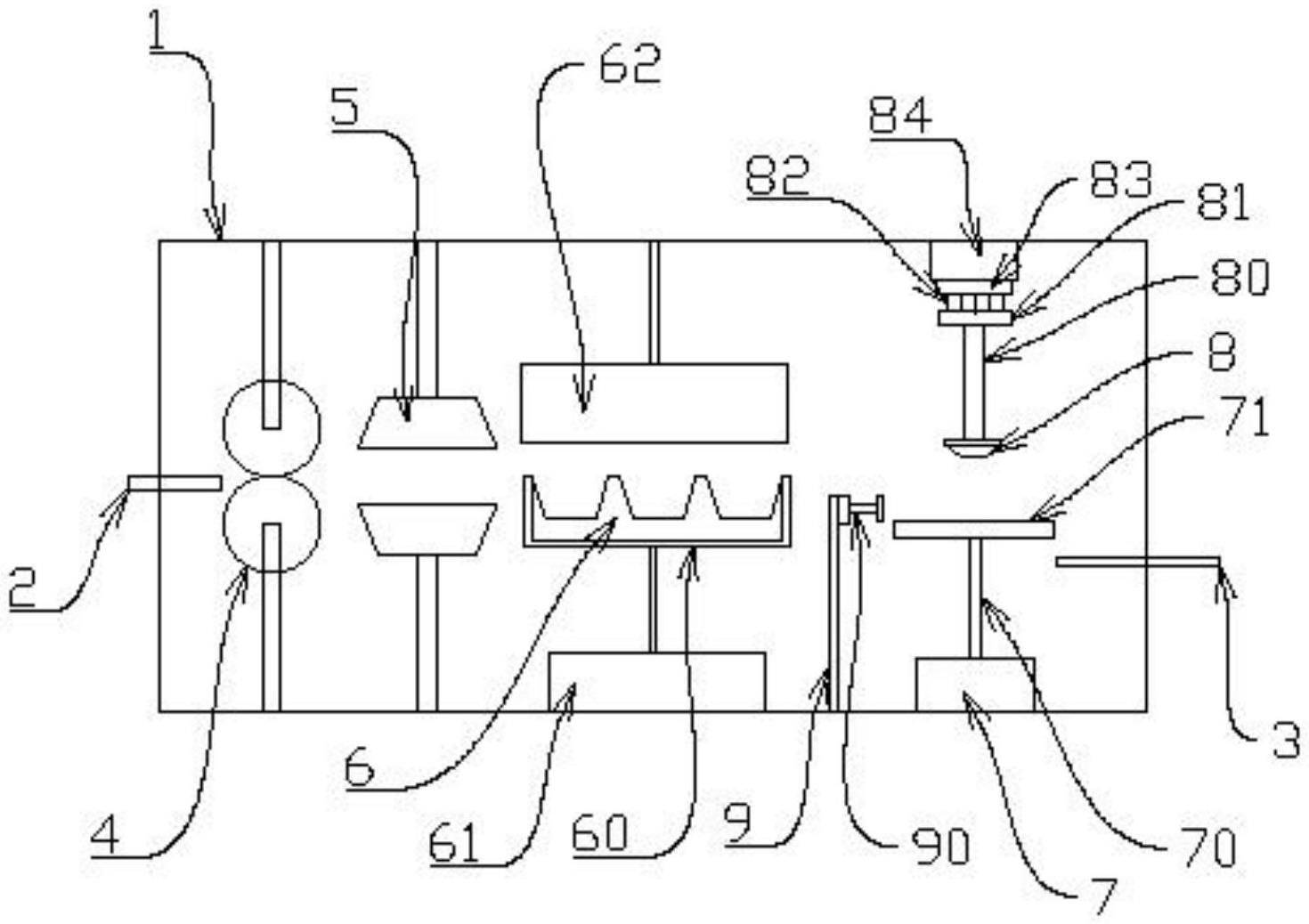
本实用新型公开了一种吸塑成型机,包括成型机本体,成型机本体的一端设有进料口,另一端设有出料口;成型机本体内设有两组送料辊筒,辊筒的后侧位置设有两组加热器;加热装置的后端设有吸塑成型装置,吸塑成型装置的后端设有切割机构。本实用新型中的吸塑成型设备,可连续进行工作,生产效率高;通过本装置中切割机构的设置,当吸塑完成后,可在机器内进行切割,而无需转运至其他设备上进行切割,也极大提高了生产效率。


