授权公布号:CN211121420U
一种膜式燃气表的计数器
有效
申请
2019-11-14
申请公布
1970-01-01
授权
2020-07-28
预估到期
2029-11-14
| 申请号 | CN201921968691.9 |
| 申请日 | 2019-11-14 |
| 授权公布号 | CN211121420U |
| 授权公告日 | 2020-07-28 |
| 分类号 | G01F15/07;G01F15/06 |
| 分类 | 测量;测试; |
| 申请人名称 | 浙江松川仪表科技股份有限公司 |
| 申请人地址 | 浙江省台州市温岭市东部新区鹭海路1号 |
专利法律状态
2020-07-28
授权
状态信息
授权
摘要
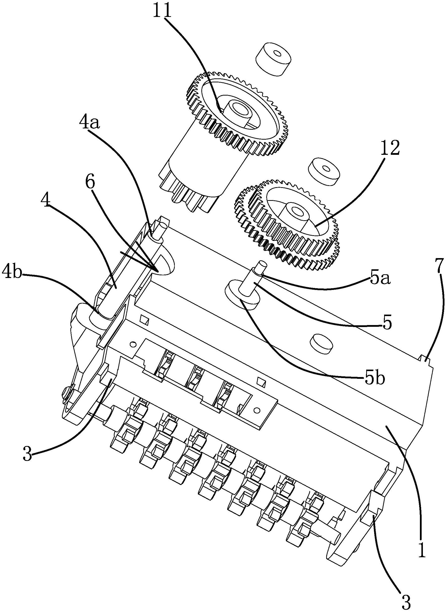
本实用新型提供了一种膜式燃气表的计数器,属于机械技术领域。它解决了现有的一种膜式燃气表的计数器的精度不高影响使用寿命的问题。本一种膜式燃气表的计数器,包括壳体,壳体的前端具有开口朝前设置的凹槽,凹槽内设有计数器字轮,壳体的下端具有若干凸出的定位凸体,壳体的后端具有凸出的定位柱一以及定位柱二,定位柱一上轴向固连有拨牙齿轮,定位柱二上轴向固连有调节齿轮,定位柱一与定位柱二平行设置且拨牙齿轮与调节齿轮相啮合,壳体的一侧设有缺口且缺口与凹槽相连通,拨牙齿轮位于缺口处。本一种膜式燃气表的计数器具有结构可靠、精度高以及安装方便的优点。


