授权公布号:CN208538682U
一种三相一体抗谐振电压互感器
有效
申请
2018-07-12
申请公布
1970-01-01
授权
2019-02-22
预估到期
2028-07-12
| 申请号 | CN201821098737.1 |
| 申请日 | 2018-07-12 |
| 授权公布号 | CN208538682U |
| 授权公告日 | 2019-02-22 |
| 分类号 | H01F38/38;H01F27/28;H01F27/40 |
| 分类 | 基本电气元件; |
| 申请人名称 | 大连第二互感器集团有限公司 |
| 申请人地址 | 辽宁省大连市普兰店区太平工业园唐房街1组164号 |
专利法律状态
2019-02-22
授权
状态信息
授权
摘要
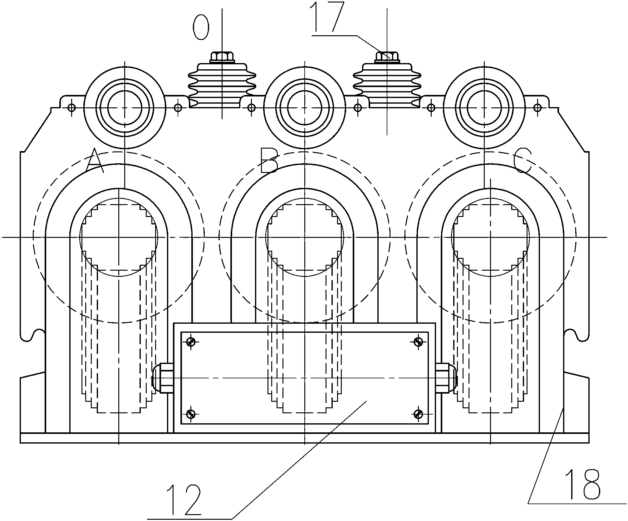
一种三相一体抗谐振电压互感器,绝缘壳体内设有A B C零相电压互感器。A相铁芯上有A相二次线圈,外侧有A相一次线圈,BC零相结构相同,ABC相一次线圈为星形连接,中性点连接零相一次线圈的始端,零相一次线圈的末端接地。A相一次熔断器位于A相肘型头内,A相一次熔断器内端伸入A相一次引线光帽内,A相一次熔断器与A相一次引线光帽间通过A相弹簧相连,A相一次引线光帽通过引线连接A相一次线圈始端。B相、C相各自对应结构相同。并且一次采用肘型插头,内部一次引线增加金属接线光帽,有效保证了无局放性能要求。实现了新型户外柜体的小型化有效地节约了占地的空间。


