授权公布号:CN207966633U
一种取电电流互感器
有效
申请
2017-12-05
申请公布
1970-01-01
授权
2018-10-12
预估到期
2027-12-05
| 申请号 | CN201721669042.X |
| 申请日 | 2017-12-05 |
| 授权公布号 | CN207966633U |
| 授权公告日 | 2018-10-12 |
| 分类号 | H01F27/02;H01F27/06;H01F27/24;H01F27/28;H01F27/29;H01F27/32;H01F27/40;H01F38/30 |
| 分类 | 基本电气元件; |
| 申请人名称 | 大连第二互感器集团有限公司 |
| 申请人地址 | 辽宁省大连市普兰店区太平工业园唐房街1组164号 |
专利法律状态
2018-10-12
授权
状态信息
授权
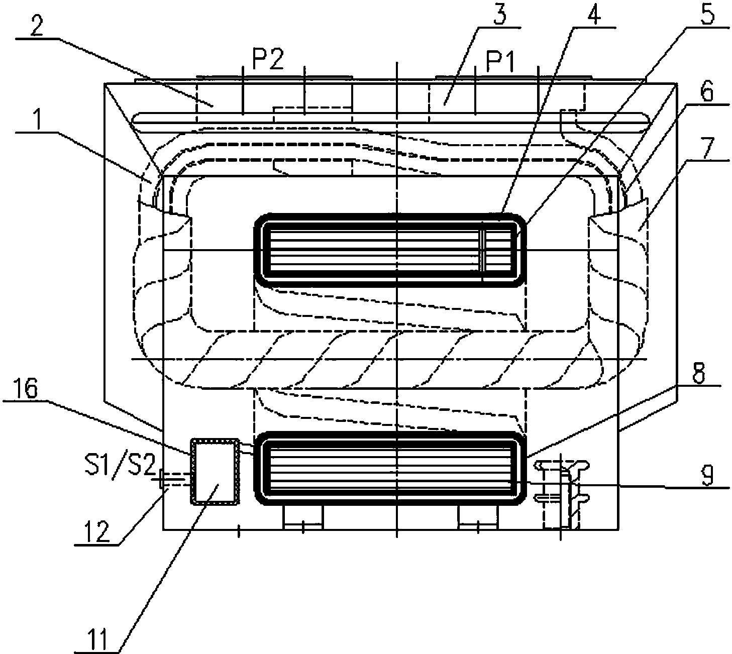
摘要
一种取电电流互感器,包括一次线圈、取电绕组和取电绕组铁心。取电绕组铁心为开口试带孔铁心,取电绕组绕设在该铁心上,取电绕组固定支架上;取电绕组的两端引线分别与取电电阻的两个端子连接,再分别与二个二次接线端子连接。一次绕组外设有绝缘层,中夹叠有绝缘层,一次绕组绕设取电绕组上。一次线圈、取电绕组和取电绕组铁心用环氧树脂一次浇注成一整体结构。本实用新型体积小、性能稳定、输出灵敏度高,饱和点稳定,并且输出电压值精确。


