授权公布号:CN208633649U
复合绝缘横担线路柱式绝缘子
有效
申请
2018-08-02
申请公布
1970-01-01
授权
2019-03-22
预估到期
2028-08-02
| 申请号 | CN201821234342.X |
| 申请日 | 2018-08-02 |
| 授权公布号 | CN208633649U |
| 授权公告日 | 2019-03-22 |
| 分类号 | E04H12/24 |
| 分类 | 建筑物; |
| 申请人名称 | 河北冀高电力器材开发有限公司 |
| 申请人地址 | 河北省保定市高碑店市团结东路33号 |
专利法律状态
2019-03-22
授权
状态信息
授权
摘要
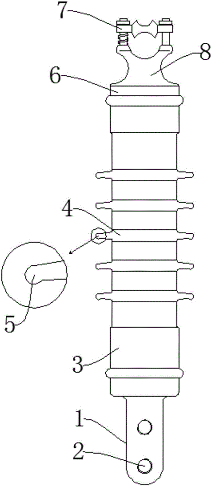
本实用新型公开了复合绝缘横担线路柱式绝缘子,包括下侧连接端、外壳和伞裙,所述下侧连接端上侧设置有所述外壳,所述外壳外侧设置有所述伞裙,所述伞裙下侧设置有延长伞,所述下侧连接端内侧设置有螺栓孔。有益效果在于:本实用新型通过设置的延长伞,使得雨雪可以直接从延长伞滴下,不会沿着伞裙向底部回流,进而避免闪络现象的发生,通过设置的端座、上端盖、弹簧、一号螺栓、一号螺母、二号螺栓、二号螺母、电线槽和螺栓槽,使得导线的固定步骤简化,提高固定效率。


