授权公布号:CN216732718U
一种橡胶注射机的注射机构
有效
申请
2022-02-17
申请公布
1970-01-01
授权
2022-06-14
预估到期
2032-02-17
| 申请号 | CN202220320947.0 |
| 申请日 | 2022-02-17 |
| 授权公布号 | CN216732718U |
| 授权公告日 | 2022-06-14 |
| 分类号 | B29C45/17;B29C33/30;B29C45/46 |
| 分类 | 塑料的加工;一般处于塑性状态物质的加工; |
| 申请人名称 | 河北冀高电力器材开发有限公司 |
| 申请人地址 | 河北省保定市团结东路33号 |
专利法律状态
2022-06-14
授权
状态信息
授权
摘要
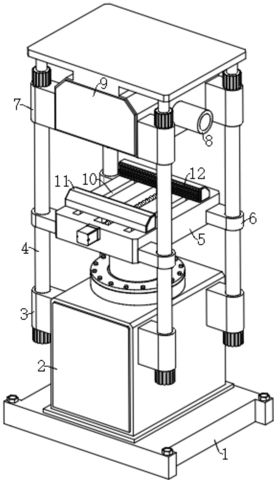
本实用新型提供一种橡胶注射机的注射机构,属于橡胶注射机技术领域,该橡胶注射机的注射机构包括底板,底板的上端固定连接有驱动气缸;夹具底座,夹具底座固定连接于驱动气缸的伸长端;夹持机构,夹持机构包括滑动槽、螺纹滑块、夹块、驱动电机和双向螺杆,螺纹滑块和夹块均设有两个,滑动槽开设于夹具底座的上端,双向螺杆转动连接于滑动槽的两个侧壁,驱动电机固定连接于夹具底座的侧端,且驱动电机的输出端活动贯穿滑动槽的侧壁并与双向螺杆的一端固定,橡胶模具通过夹持机构固定在橡胶注射机内,橡胶注射过程中,橡胶模具稳定,注射过程不会受到外界影响,有效提高橡胶注射机的使用效率。


