授权公布号:CN214602292U
一种金刚石串珠和金刚石绳锯
有效
申请
2021-04-08
申请公布
1970-01-01
授权
2021-11-05
预估到期
2031-04-08
| 申请号 | CN202120710575.8 |
| 申请日 | 2021-04-08 |
| 授权公布号 | CN214602292U |
| 授权公告日 | 2021-11-05 |
| 分类号 | B23D65/00;B23D61/18;C01B32/205 |
| 分类 | 机床;不包含在其他类目中的金属加工; |
| 申请人名称 | 厦门致力金刚石科技股份有限公司 |
| 申请人地址 | 福建省厦门市火炬高新区(翔安)产业区翔岳路25号西北 |
专利法律状态
2021-11-05
授权
状态信息
授权
摘要
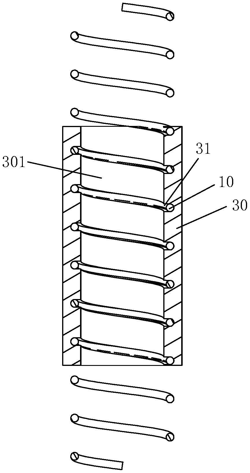
本实用新型提供一种金刚石串珠和金刚石绳锯,金刚石串珠包括金刚石基体和螺旋线圈,所述金刚石基体具有一通孔,所述螺旋线圈与金刚石基体共轴设置并嵌设于金刚石基体内,且所述螺旋线圈凹陷于金刚石基体的内壁面,进而使金刚石基体的内壁面在螺旋线圈位置形成螺牙沟。极大的提升了与金刚石基体的结合牢固性,运用至金刚石绳锯上时,突破了现有技术中的瓶颈;金刚石串珠在轴向方向上的防窜动和在周向旋转方向的防旋转能力得到质的提升。


