授权公布号:CN213766524U
一种防止串珠转动的金刚石绳锯
有效
申请
2020-10-23
申请公布
1970-01-01
授权
2021-07-23
预估到期
2030-10-23
| 申请号 | CN202022379087.1 |
| 申请日 | 2020-10-23 |
| 授权公布号 | CN213766524U |
| 授权公告日 | 2021-07-23 |
| 分类号 | B28D1/12 |
| 分类 | 加工水泥、黏土或石料; |
| 申请人名称 | 厦门致力金刚石科技股份有限公司 |
| 申请人地址 | 福建省厦门市火炬高新区(翔安)产业区翔岳路25号西北 |
专利法律状态
2021-07-23
授权
状态信息
授权
摘要
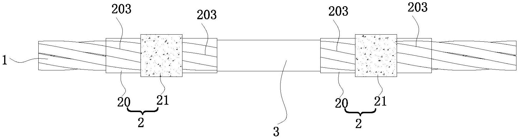
本实用新型涉及一种防止串珠转动的金刚石绳锯,包括钢丝绳以及串在钢丝绳上的若干个金刚石串珠,每个金刚石串珠都包括套设在钢丝绳上的基体管以及设置在基体管外周面的金刚石工作层,所述基体管包括位于中部的工作段以及位于两端的固定段,所述金刚石工作层固定在基体管的工作段的外周面上,相邻两金刚石串珠之间裸露的钢丝绳上还包裹有塑胶体,该塑胶体延伸至固定段内;所述钢丝绳的表面上具有因多股钢丝的捻制而形成的螺旋状沟槽,所述固定段上具有至少一压痕,该压痕沿钢丝绳上的螺旋状沟槽压制,以使固定段管壁的一部分能够凸设于螺旋状沟槽中,以解决现有金刚石绳锯的金刚石串珠易发生转动的问题。


