授权公布号:CN220629844U
一种机柜
有效
申请
2023-08-31
申请公布
1970-01-01
授权
2024-03-19
预估到期
2033-08-31
| 申请号 | CN202322366599.8 |
| 申请日 | 2023-08-31 |
| 授权公布号 | CN220629844U |
| 授权公告日 | 2024-03-19 |
| 分类号 | H05K7/14 |
| 分类 | 其他类目不包含的电技术; |
| 申请人名称 | 中国联合网络通信集团有限公司 |
| 申请人地址 | 北京市西城区金融大街21号 |
专利法律状态
2024-03-19
授权
状态信息
授权
摘要
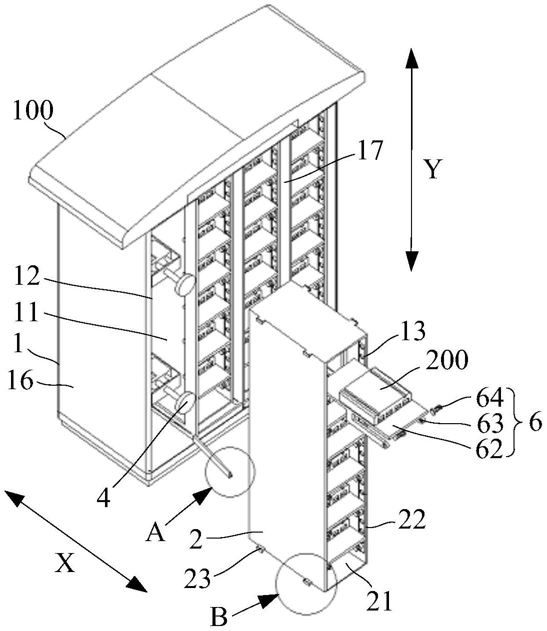
本申请公开了一种机柜,涉及通信工程技术领域,用于解决机柜内部的通信设备维修不方便的问题。该机柜包括柜体以及放置件。柜体的内部形成安装腔,开设有与安装腔连通的安装口。放置件设置于安装腔内,内部形成放置腔,开设有与放置腔连通的放置口。沿第一方向,放置件与柜体滑动连接。其中,第一方向与安装口所在的平面相交。该机柜用于放置通信设备。


