授权公布号:CN217742003U
线路板组建中DIMM件返修的红外和热风混合返修系统
有效
申请
2022-07-11
申请公布
1970-01-01
授权
2022-11-04
预估到期
2032-07-11
| 申请号 | CN202221998096.1 |
| 申请日 | 2022-07-11 |
| 授权公布号 | CN217742003U |
| 授权公告日 | 2022-11-04 |
| 分类号 | H05K3/22 |
| 分类 | 其他类目不包含的电技术; |
| 申请人名称 | 库尔特机电设备(上海)有限公司 |
| 申请人地址 | 上海市中国(上海)自由贸易试验区富特北路318号第三层C部位 |
专利法律状态
2022-11-04
授权
状态信息
授权
摘要
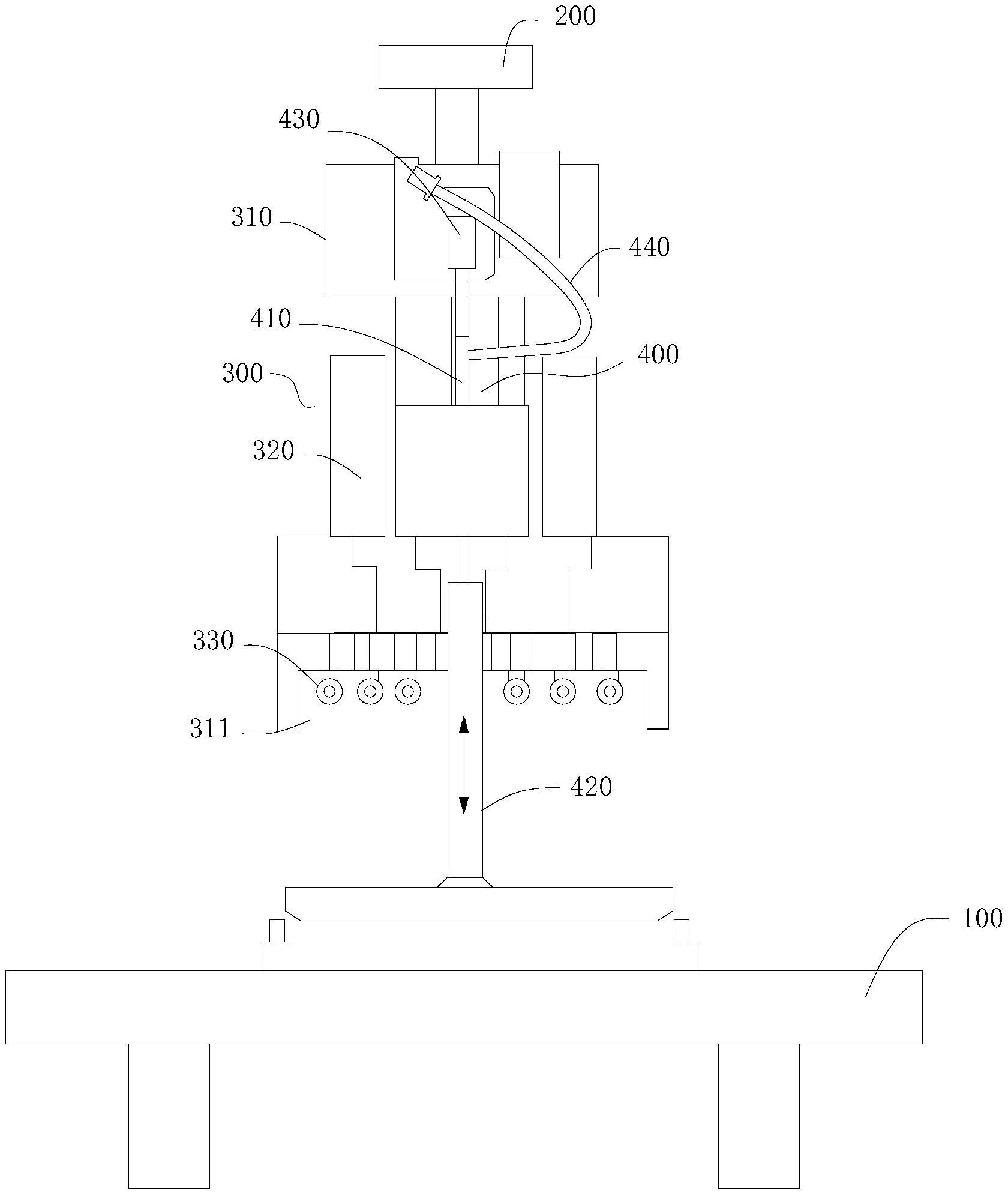
本申请提供一种线路板组建中DIMM件返修的红外和热风混合返修系统,涉及半导体制造技术领域。包括移动机构、加热机构、拾取机构和定位治具,移动机构与加热机构连接,加热机构与拾取机构连接,拾取机构用于拾取或释放定位治具;定位治具用于与内存式插座的插槽插接配合。该返修系统自动化程度高,效率高,一次性通过性高,返修成本低。


