授权公布号:CN214267689U
一种轨道车辆车钩缓冲拆装小车
有效
申请
2020-12-31
申请公布
1970-01-01
授权
2021-09-24
预估到期
2030-12-31
| 申请号 | CN202023310737.3 |
| 申请日 | 2020-12-31 |
| 授权公布号 | CN214267689U |
| 授权公告日 | 2021-09-24 |
| 分类号 | B62B3/02;B62B5/00;B61K13/00;B61G9/04 |
| 分类 | 无轨陆用车辆; |
| 申请人名称 | 泰州海陵液压机械股份有限公司 |
| 申请人地址 | 江苏省泰州市泰东工业园区8号 |
专利法律状态
2021-09-24
授权
状态信息
授权
摘要
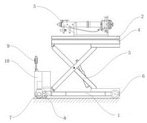
本实用新型公开了一种轨道车辆车钩缓冲拆装小车,包括车体、升降机构、升降平台和浮动工作台,在所述车体一端的两外侧边设有定向轮,在车体另一端两内侧边设置有辅助轮,在辅助轮的左端中间部位设有换向轮,所述升降机构设在车体上,所述升降平台设置在升降机构上方,所述浮动工作台设置在升降平台上,在升降平台上设有旋转钢球座和滑轨,在浮动工作台上装有转轴、轴承座和滑槽。本实用新型车钩缓冲拆装小车移动灵活,具有升降功能,可以承载车钩工装,提高工作效率,并且浮动工作台可以进行左右移动或者旋转方式的微调,有利于更精确调节车钩工装的位置,满足螺栓定位的需要。


