授权公布号:CN213080205U
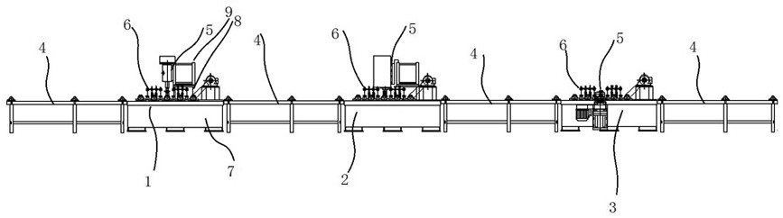
一种中梁钢异型槽加工生产系统
有效
申请
2020-06-24
申请公布
1970-01-01
授权
2021-04-30
预估到期
2030-06-24
| 申请号 | CN202021194714.8 |
| 申请日 | 2020-06-24 |
| 授权公布号 | CN213080205U |
| 授权公告日 | 2021-04-30 |
| 分类号 | B23C3/34;B23C9/00;B23Q7/00 |
| 分类 | 机床;不包含在其他类目中的金属加工; |
| 申请人名称 | 泰州海陵液压机械股份有限公司 |
| 申请人地址 | 江苏省泰州市海陵区海陵工业园区泰东工业园区8号 |
专利法律状态
2021-04-30
授权
状态信息
授权
摘要
本实用新型公开一种中梁钢异型槽加工生产系统,包括一级加工工序装置、二级加工工序装置和三级加工工序装置,一级加工工序装置通过从动支撑输送辊道与二级加工工序装置相连接,二级加工工序装置通过从动支撑输送辊道与三级加工工序装置相连接,一级加工工序装置、二级加工工序装置和三级加工工序装置均包括铣削动力机构和设于铣削动力机构侧端的定位输送限位机构,本实用新型实现对中梁钢相对刀具的铣削线性运动,有效避免加工时由于误差造成中梁钢的上下窜动而造成加工误差,有效避免中梁钢窜动从而损坏刀具,保证加工整体的精度,有效保证产品整体加工的质量;能够对中梁钢进行三重加工,使得加工后中梁钢最终成型,加工精度高,成型效果好。


