授权公布号:CN212792028U
一种轴承清洗装置
有效
申请
2020-08-14
申请公布
1970-01-01
授权
2021-03-26
预估到期
2030-08-14
| 申请号 | CN202021693393.6 |
| 申请日 | 2020-08-14 |
| 授权公布号 | CN212792028U |
| 授权公告日 | 2021-03-26 |
| 分类号 | B08B1/02;B08B13/00 |
| 分类 | 清洁; |
| 申请人名称 | 泰州海陵液压机械股份有限公司 |
| 申请人地址 | 江苏省泰州市泰东工业园区8号 |
专利法律状态
2021-03-26
授权
状态信息
授权
摘要
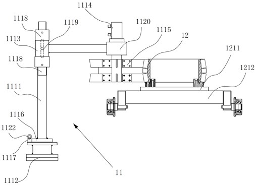
实用新型公开了一种轴承清洗装置,它包括一相对运动装置、一轴承件,相对运动装置,相对运动装置为活动旋转状态清洗,相对运动装置包括旋转装置和刮板装置,旋转装置由旋转支撑架、旋转轴承座和横臂旋转部组成,所述刮板装置由液压马达和刮板组成,旋转轴承座与旋转支撑架之间设有定位底座,所述定位底座上设有定位插销,旋转支撑架上设有升降调节部,所述升降调节部区间设有升降导向销,升降调节部上安装有升降横臂,所述升降横臂延伸顶端设有刮板固定部,刮板安装于刮板固定部下端,所述液压马达设置于升降横臂侧端并带动刮板做旋转清洗运作,使得滚柱、保持架和轴承内圈产生相对运动,从而将间隙中的黄油清洗干净。


