授权公布号:CN107470884B
一种飞锤式离合器的组装装置
有效
申请
2017-10-10
申请公布
2017-12-15
授权
2023-06-13
预估到期
2037-10-10
| 申请号 | CN201710936189.9 |
| 申请日 | 2017-10-10 |
| 申请公布号 | CN107470884A |
| 申请公布日 | 2017-12-15 |
| 授权公布号 | CN107470884B |
| 授权公告日 | 2023-06-13 |
| 分类号 | B23P19/02 |
| 分类 | 机床;不包含在其他类目中的金属加工; |
| 申请人名称 | 浙江中马园林机器股份有限公司 |
| 申请人地址 | 浙江省台州市温岭市太平街道岙底胡路48号 |
专利法律状态
2023-06-13
授权
状态信息
授权
2018-02-13
实质审查的生效
状态信息
实质审查的生效;IPC(主分类):B23P19/02;申请日:20171010
2017-12-15
公布
状态信息
公布
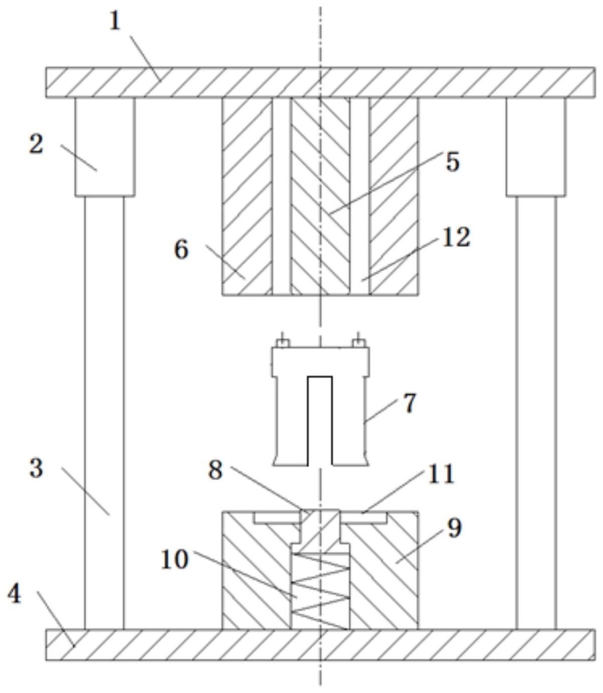
摘要
本发明提供了一种飞锤式离合器的快速组装装置,包括上模、下模、设置在上下模之间的飞锤架,所述上模的中央设置有开口朝下的圆形中空腔体,中空腔体的中央设置有飞锤架导向柱;所述下模的上表面中央设置有圆形凹槽,圆形凹槽的中央设置有可弹性升降的安装定位块;所述飞锤架由上下两部分组成,上部分上设置有与飞锤架导向柱适配的贯穿孔,下部分设置有与卡接槽,卡接槽与安装定位块及飞锤式离合器的飞锤片相适配。该组装装置能够实现飞锤式离合器的快速组装,生产效率提高,劳动强度降低,生产成本降低,占用生产场地缩小。


