授权公布号:CN218670941U
一种应用于供热二次管网系统管材限位的电熔锚固环
有效
申请
2022-12-09
申请公布
1970-01-01
授权
2023-03-21
预估到期
2032-12-09
| 申请号 | CN202223312355.3 |
| 申请日 | 2022-12-09 |
| 授权公布号 | CN218670941U |
| 授权公告日 | 2023-03-21 |
| 分类号 | F16L5/00 |
| 分类 | 工程元件或部件;为产生和保持机器或设备的有效运行的一般措施;一般绝热; |
| 申请人名称 | 吉林市松江塑料管道设备有限责任公司 |
| 申请人地址 | 吉林省吉林市蛟河市天岗经济开发区1-1丘1-栋-01 |
专利法律状态
2023-03-21
授权
状态信息
授权
摘要
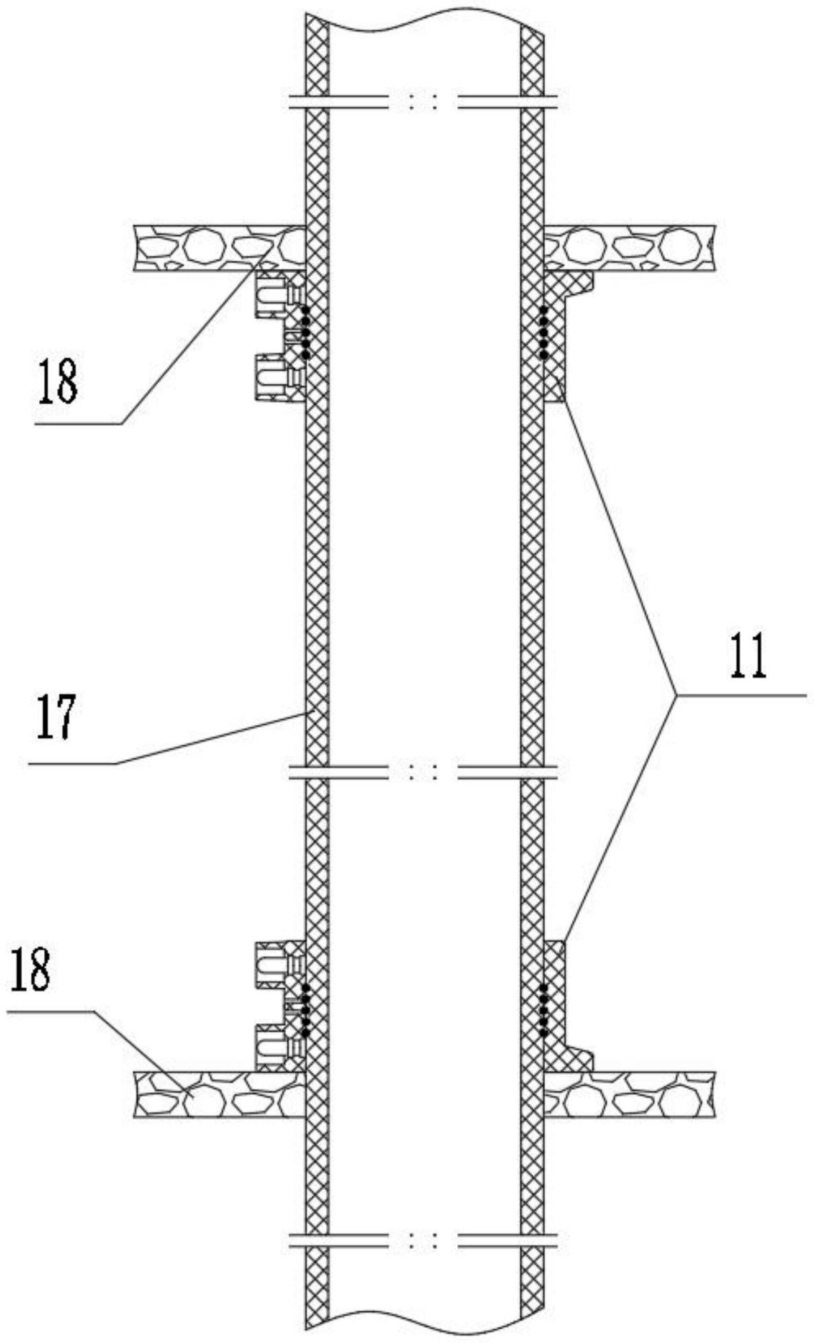
本申请提供了一种应用于供热二次管网系统管材限位的电熔锚固环,包括管件,管件下方外侧焊接安装有电熔锚固环,通过电熔锚固环卡接安装有楼板,电熔锚固环包括有熔接层,电熔锚固环主体外部一侧顶端设置有限位盘,熔接层内侧设置有电热丝,熔接层一侧设置有两组接线导电柱,接线导电柱贯穿熔接层与电热丝连接,接线导电柱与电熔焊接机连通。本实用新型通过对电热丝的加热,完成对于熔接层与管件的熔接加热,使用电熔带与管材进行连接外加管卡进行管材的限位固定,电熔锚固环与塑料管道属于同一材质,具有同寿命、耐腐蚀等优点,不仅使管材能够牢靠的固定在两楼板之间,无需破坏墙体且适用于不同直径的输送管道。


