授权公布号:CN107082548B
一种三回程式滚筒干燥炭化机
审中
申请
2017-04-27
申请公布
2017-08-22
授权
2023-04-14
预估到期
2037-04-27
| 申请号 | CN201710287213.0 |
| 申请日 | 2017-04-27 |
| 申请公布号 | CN107082548A |
| 申请公布日 | 2017-08-22 |
| 授权公布号 | CN107082548B |
| 授权公告日 | 2023-04-14 |
| 分类号 | C02F11/13;C02F11/121;C10B1/10;C10B57/10;C10B49/02;C02F103/20N |
| 分类 | 水、废水、污水或污泥的处理; |
| 申请人名称 | 杭州钱江干燥设备有限公司 |
| 申请人地址 | 浙江省杭州市西湖区高技街32号371室 |
专利法律状态
2023-04-14
专利申请权、专利权的转移
状态信息
专利申请权的转移;IPC(主分类):C02F11/13;登记生效日:20230331;变更事项:申请人;变更前:浙江布莱蒙农业科技股份有限公司;变更后:杭州钱江干燥设备有限公司;变更事项:地址;变更前:310021 浙江省杭州市江干区丁桥镇广发西路5号5幢;变更后:310000 浙江省杭州市西湖区高技街32号371室
2023-04-14
授权
状态信息
授权
2017-09-15
实质审查的生效
状态信息
实质审查的生效;IPC(主分类):C02F11/12;申请日:20170427
2017-08-22
公布
状态信息
公布
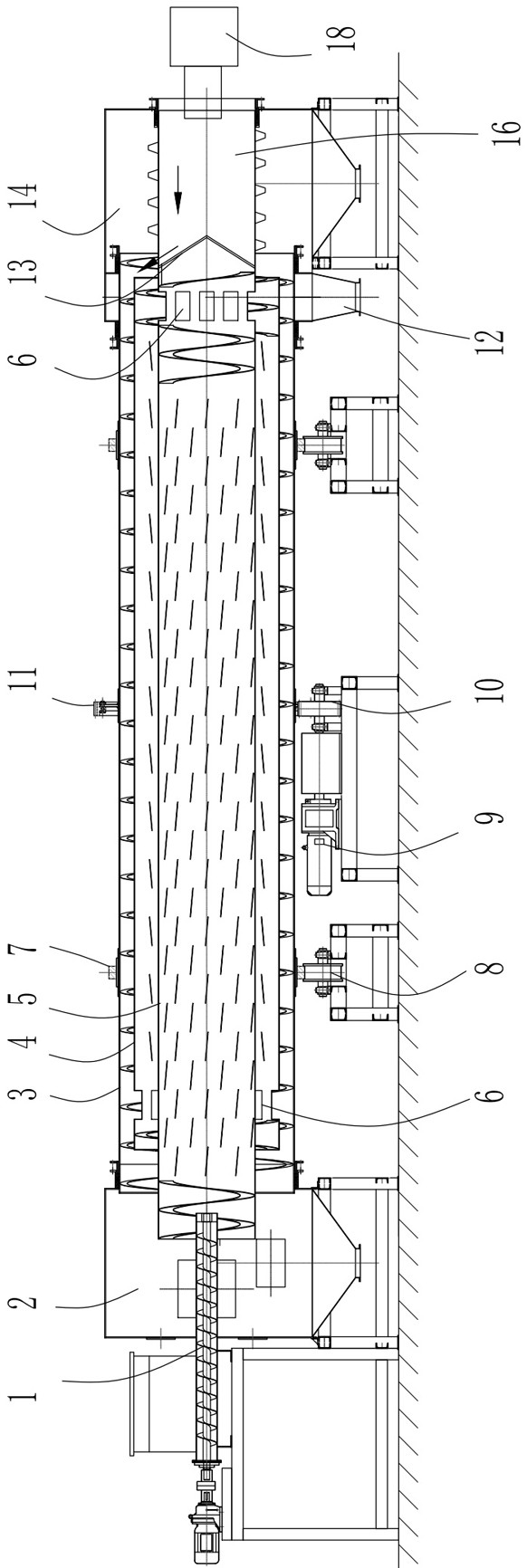
摘要
本发明涉及一种三回程式滚筒干燥炭化机,解决了猪舍等禽畜养殖集中地猪粪等排泄物数量大,处理难度大的问题。本装置包括同轴布置、同步转动的内筒、中筒、外筒,内筒、中筒、外筒折返输送干燥物料,同时从外筒、中筒、内筒反向输送干燥风,干燥物料与干燥风反向输送;内筒的输送末端连接相互隔断的进风筒,进风筒连接燃烧器;所述外筒的右侧设有炭化仓,外筒输出物料进入炭化仓,进风筒作为炭化热源和搅拌器转动设置于炭化仓内。本发明将猪粪等排泄物收集后干燥、制炭,解决了猪粪处理的问题;实现了干燥炭化一体集成,能源利用率高。


