授权公布号:CN218012591U
一种压力式喷雾冷却干燥机
有效
申请
2022-06-15
申请公布
1970-01-01
授权
2022-12-13
预估到期
2032-06-15
| 申请号 | CN202221502025.8 |
| 申请日 | 2022-06-15 |
| 授权公布号 | CN218012591U |
| 授权公告日 | 2022-12-13 |
| 分类号 | B01J2/02;B01D1/18;B01D1/30;B01D46/12 |
| 分类 | 一般的物理或化学的方法或装置; |
| 申请人名称 | 杭州钱江干燥设备有限公司 |
| 申请人地址 | 浙江省杭州市西湖区高技街32号371室 |
专利法律状态
2022-12-13
授权
状态信息
授权
摘要
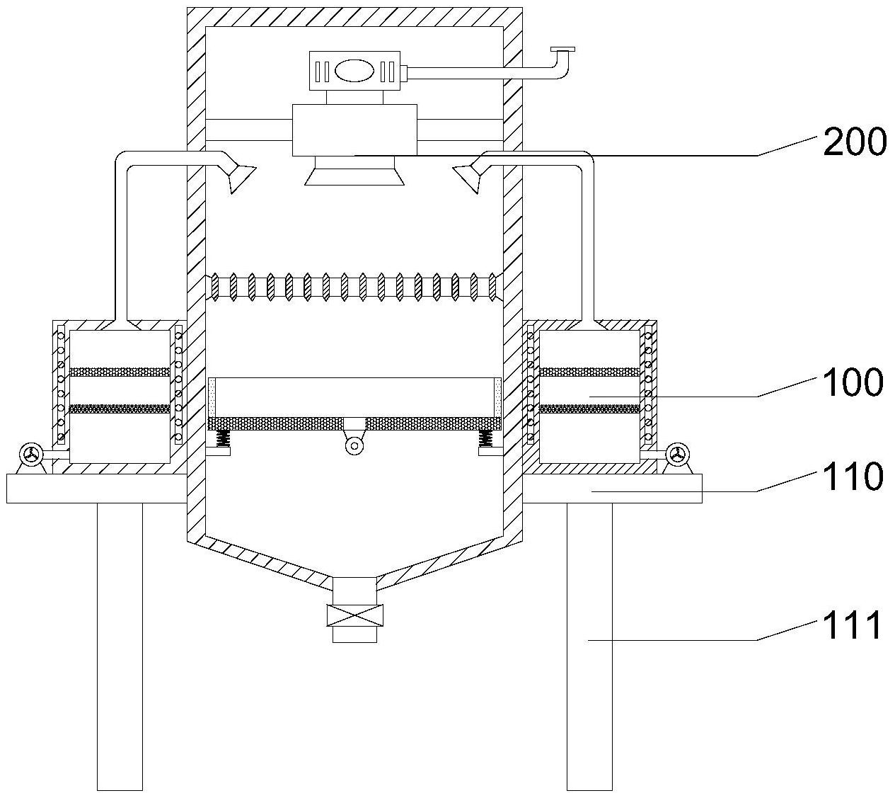
本申请提供了一种压力式喷雾冷却干燥机,属于物料干燥技术领域。该压力式喷雾冷却干燥机包括喷雾组件和干燥组件,所述喷雾组件包括支撑板、干燥箱、雾化器、高压柱塞泵、塑形板、筛网框和振动电机,所述干燥箱安装于所述支撑板一侧,所述干燥组件包括风机、加热箱、过滤网组和通风管,所述风机安装于所述支撑板顶部,通过设置支撑板、干燥箱、雾化器、高压柱塞泵、塑形板、筛网框和振动电机,能够将原料意义的压力雾化喷出,配合干燥组件使得雾化喷出的物料通过塑形孔进行塑形,同时产品进行过滤分离,保证产品品质,通过设置风机、加热箱、过滤网组和通风管,能够保证干燥用热气纯净,避免热气中杂质影响产品质量。


