授权公布号:CN206713821U
一种螃蟹养殖池
有效
申请
2017-04-25
申请公布
1970-01-01
授权
2017-12-08
预估到期
2027-04-25
| 申请号 | CN201720441727.2 |
| 申请日 | 2017-04-25 |
| 授权公布号 | CN206713821U |
| 授权公告日 | 2017-12-08 |
| 分类号 | A01K63/00;A01K63/04;A01K63/06 |
| 分类 | 农业;林业;畜牧业;狩猎;诱捕;捕鱼; |
| 申请人名称 | 山东黄河口大闸蟹有限公司 |
| 申请人地址 | 山东省东营市垦利县永安镇经二西路南侧 |
专利法律状态
2017-12-08
授权
状态信息
授权
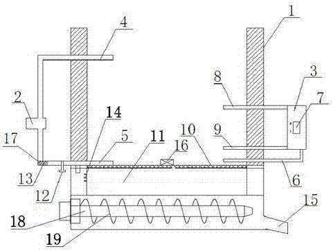
摘要
一种螃蟹养殖池,包括底部为空的水池,还包括设置在水池下部的排污装置,设置在水池左右两侧的水循环装置和温度调节装置,其中所述的排污装置包括排污网、污泥池、溢水口、排污口、排泥螺杆和螺旋导向片;所述的水循环装置包括出水管、抽水管、水泵、水管连接器、密闭开关和过滤网;所述的温度调节装置包括温度调节器、温度显示器、温度传感器、加热管和制冷管,所述的排污网为设置在水池底部的具有孔隙的网格结构,其中排污网下端为污泥池,所述的抽水管设置在水池底部,与排污网的上表面相连接,其中抽水管连接于水管,通过供氧器供氧,水泵使水循环,循环过程中过滤沉积物,并通过排污装置使水清澈干净,温度自动调节器控制水温。


