授权公布号:CN207151631U
一种大闸蟹养殖箱
有效
申请
2017-05-04
申请公布
1970-01-01
授权
2018-03-30
预估到期
2027-05-04
| 申请号 | CN201720487375.4 |
| 申请日 | 2017-05-04 |
| 授权公布号 | CN207151631U |
| 授权公告日 | 2018-03-30 |
| 分类号 | A01K63/00;A01K63/04;A01K61/85;G01K1/02;G01D21/02 |
| 分类 | 农业;林业;畜牧业;狩猎;诱捕;捕鱼; |
| 申请人名称 | 山东黄河口大闸蟹有限公司 |
| 申请人地址 | 山东省东营市垦利县永安镇经二西路南侧 |
专利法律状态
2018-03-30
授权
状态信息
授权
摘要
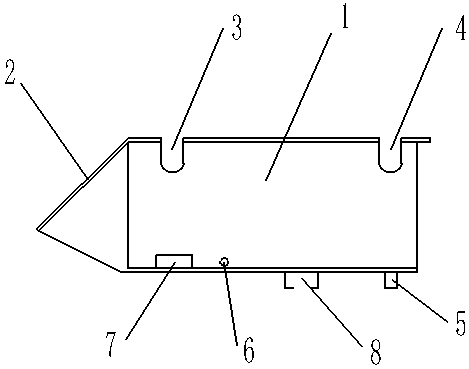
本实用新型公开了一种大闸蟹养殖箱,包括箱体,所述箱体包括设置于所述箱体侧壁的箱体盖,其中,所述箱体为上端开口设计,所述上端开口的箱体内设置有收容空间;所述箱体侧壁上端设置有第一管槽和第二管槽,所述第一管槽和所述第二管槽分别设置于所述箱体两侧的侧壁上端;所述箱体底部设置有排水孔;所述箱体上还设置有测温模块、数据存储模块及数据传输模块;所述箱体对应所述数据存储模块及数据传输模块设置有收容槽,所述数据存储模块及数据传输模块密封设置于所述收容槽内;所述测温模块与所述数据存储模块及所述数据传输模块电连接。本实用新型大闸蟹养殖箱具有使用灵活,产量高的优点。


