授权公布号:CN211933522U
双温感电热毯
有效
申请
2020-03-25
申请公布
1970-01-01
授权
2020-11-17
预估到期
2030-03-25
| 申请号 | CN202020401785.4 |
| 申请日 | 2020-03-25 |
| 授权公布号 | CN211933522U |
| 授权公告日 | 2020-11-17 |
| 分类号 | A47G9/02;H05B3/34 |
| 分类 | 家具;家庭用的物品或设备;咖啡磨;香料磨;一般吸尘器; |
| 申请人名称 | 青岛市琴岛电器有限公司 |
| 申请人地址 | 山东省青岛市即墨辽河一路27号 |
专利法律状态
2020-11-17
授权
状态信息
授权
摘要
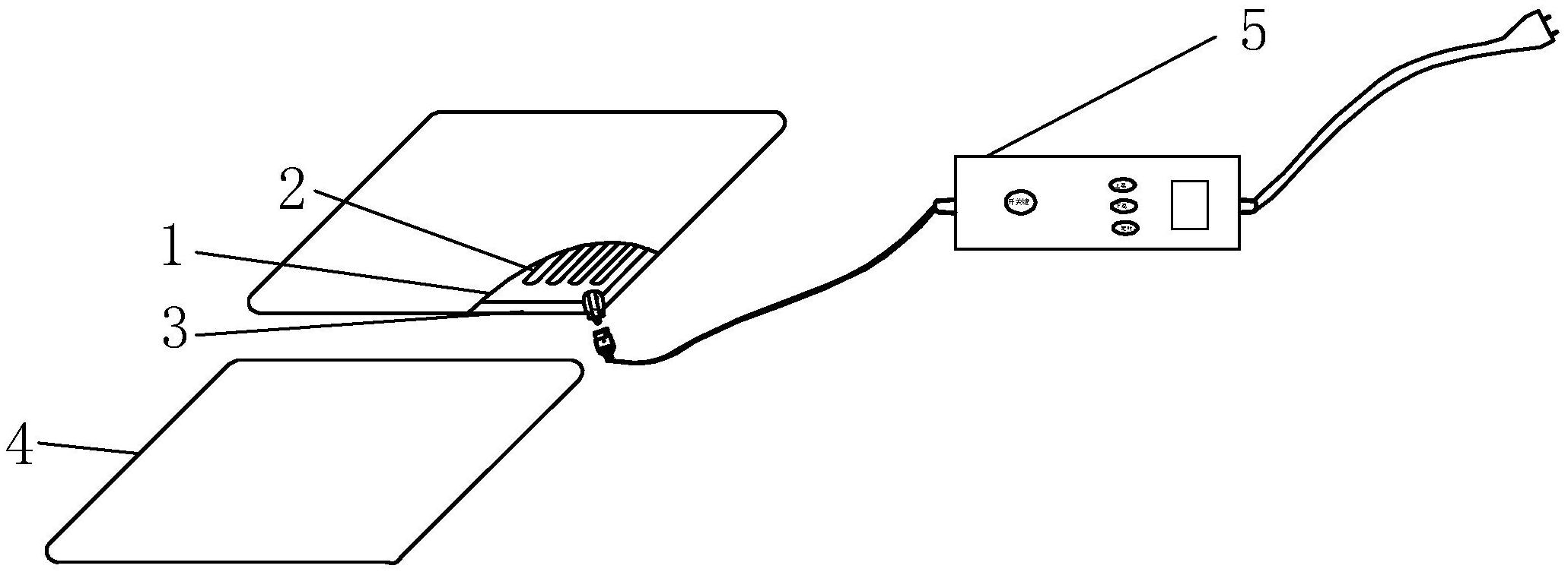
一种双温感电热毯,由上层无纺布、发热线、下层无纺布、清爽层、控制器构成,清爽层由天丝纤维和蓄热纤维加工而成,其特点是,从下至上依次是上层无纺布、发热线、下层无纺布和清爽层,发热线与控制器相连。上述的清爽层可以是普通面料也可以是加工而成的无纺布。


