授权公布号:CN213586338U
一种防辐射电热毯
有效
申请
2020-11-26
申请公布
1970-01-01
授权
2021-06-29
预估到期
2030-11-26
| 申请号 | CN202022790107.4 |
| 申请日 | 2020-11-26 |
| 授权公布号 | CN213586338U |
| 授权公告日 | 2021-06-29 |
| 分类号 | H05B3/34;H05B3/02;A47G9/06 |
| 分类 | 其他类目不包含的电技术; |
| 申请人名称 | 青岛市琴岛电器有限公司 |
| 申请人地址 | 山东省青岛市即墨辽河一路27号 |
专利法律状态
2021-06-29
授权
状态信息
授权
摘要
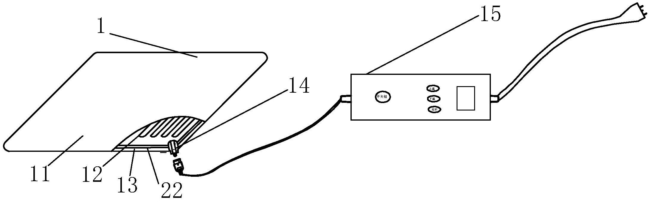
一种防辐射电热毯,包括电热毯本体,电热毯本体采用多种结构,自上而下依次是由防辐射层、发热线、下层无纺布构成,电热毯本体上有接线盒,防辐射层,包括铜带和防辐射无纺布,防辐射无纺布由涤纶短纤和金属纤维混合加工而成,铜带在无纺布的两侧,通过导线连接在一起,导线的另一端与接线盒相连,其特特点是,发热线蛇形排布在防辐射层和下层无纺布之间,发热线与接线盒相连,接线盒与控制器相连。其优点在于:结构简单,使用方便,既可以控制温度,又可以防辐射,面料有抗菌除臭保健的作用。


