授权公布号:CN211047265U
上下床电热毯
有效
申请
2019-10-15
申请公布
1970-01-01
授权
2020-07-17
预估到期
2029-10-15
| 申请号 | CN201921724315.5 |
| 申请日 | 2019-10-15 |
| 授权公布号 | CN211047265U |
| 授权公告日 | 2020-07-17 |
| 分类号 | H05B3/34;H05B3/02 |
| 分类 | 其他类目不包含的电技术; |
| 申请人名称 | 青岛市琴岛电器有限公司 |
| 申请人地址 | 山东省青岛市即墨辽河一路27号 |
专利法律状态
2020-07-17
授权
状态信息
授权
摘要
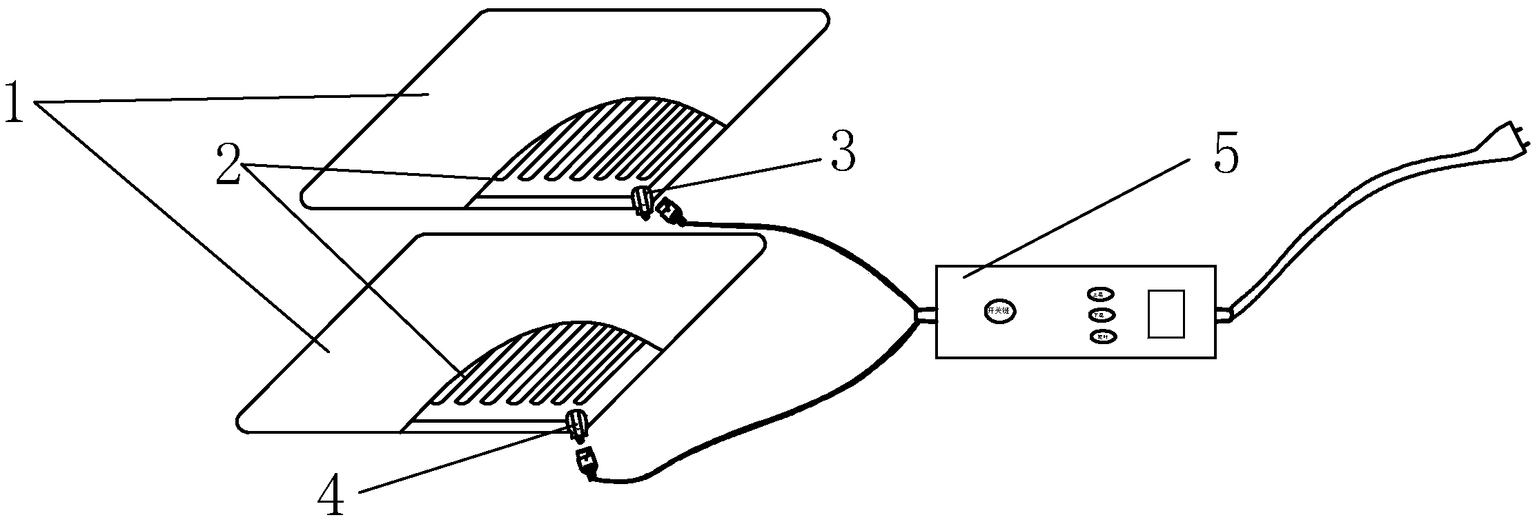
一种上下床电热毯,由两床无纺布、两条发热线、一个上耦合器、一个下耦合器和一个控制器构成,其特点是,发热线蛇形分布在无纺布内,一条发热线与上耦合器相连,一条发热线与下耦合器相连,上耦合器和下耦合器分别与控制器相连。


