授权公布号:CN208832130U
一种LED灯
有效
申请
2018-06-08
申请公布
1970-01-01
授权
2019-05-07
预估到期
2028-06-08
| 申请号 | CN201820891506.X |
| 申请日 | 2018-06-08 |
| 授权公布号 | CN208832130U |
| 授权公告日 | 2019-05-07 |
| 分类号 | F21K9/20;F21V17/10;F21V17/16;F21V3/00;F21V29/89;F21Y115/10N |
| 分类 | 照明; |
| 申请人名称 | 上海强凌电子有限公司 |
| 申请人地址 | 上海市松江区泗泾镇望东南路139号 |
专利法律状态
2019-05-07
授权
状态信息
授权
摘要
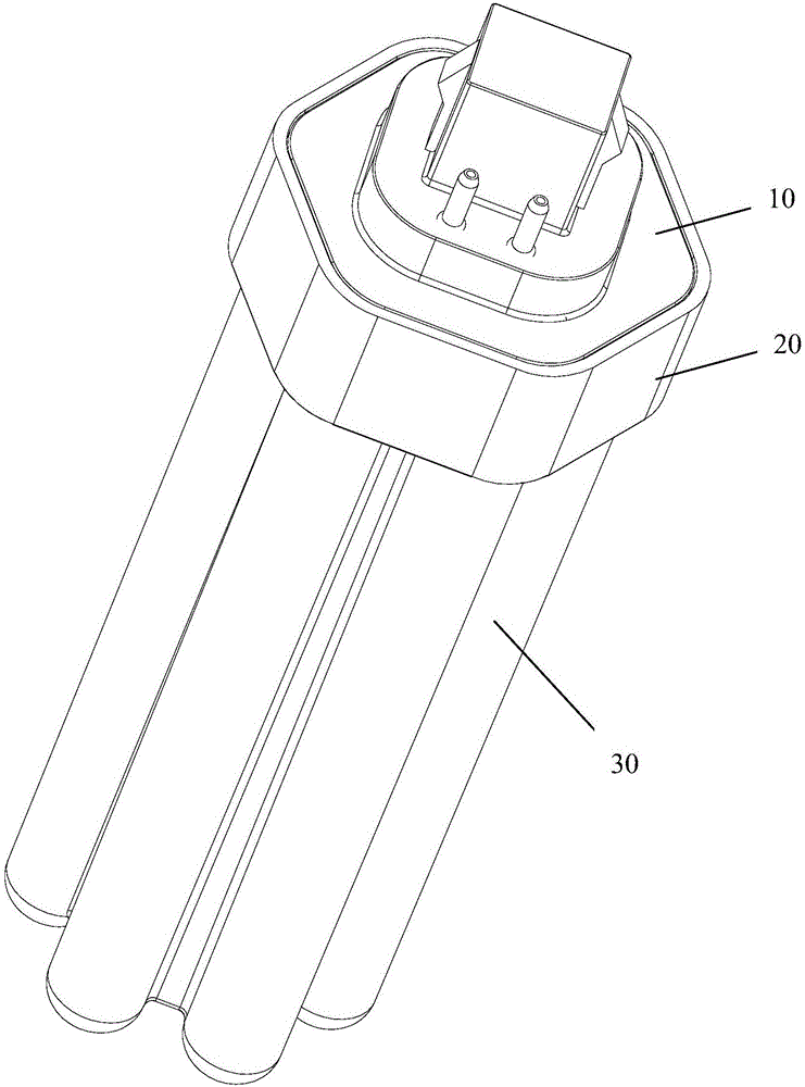
本实用新型公开了一种LED灯。该LED灯包括:灯罩,在灯罩上固设有第一挡板;设置于灯罩内的散热器;LED芯片,LED芯片固定连接在散热器上;环形灯头座,在环形灯头座的内环壁上固设有第二挡板,灯罩穿入环形灯头座内并且第二挡板对第一挡板进行轴向止挡;及灯头,灯头连接于环形灯头座,灯头将第一挡板压紧在第二挡板上。本实用新型提供的LED灯中,散热器和LED芯片设置在灯罩后,将灯罩穿入环形灯头座,第二挡板对第一挡板进行止挡。在将灯头连接于环形灯头座后,能将第一挡板压紧在第二挡板上,从而将灯罩连接在环形灯头座上,组装方便,成本较低,连接可靠,运输简易。灯罩穿出环形灯头座,散热器和LED芯片设置在灯罩内,发光角度大,亮度高。


