授权公布号:CN213040536U
一种可调角度的偏光LED洗墙灯
有效
申请
2020-08-18
申请公布
1970-01-01
授权
2021-04-23
预估到期
2030-08-18
| 申请号 | CN202021716840.5 |
| 申请日 | 2020-08-18 |
| 授权公布号 | CN213040536U |
| 授权公告日 | 2021-04-23 |
| 分类号 | F21V21/30;F21V13/12;F21Y115/10;F21W131/107 |
| 分类 | 照明; |
| 申请人名称 | 东莞市百分百科技有限公司 |
| 申请人地址 | 广东省东莞市东城区光明社区光明一环路50号 |
专利法律状态
2021-04-23
授权
状态信息
授权
摘要
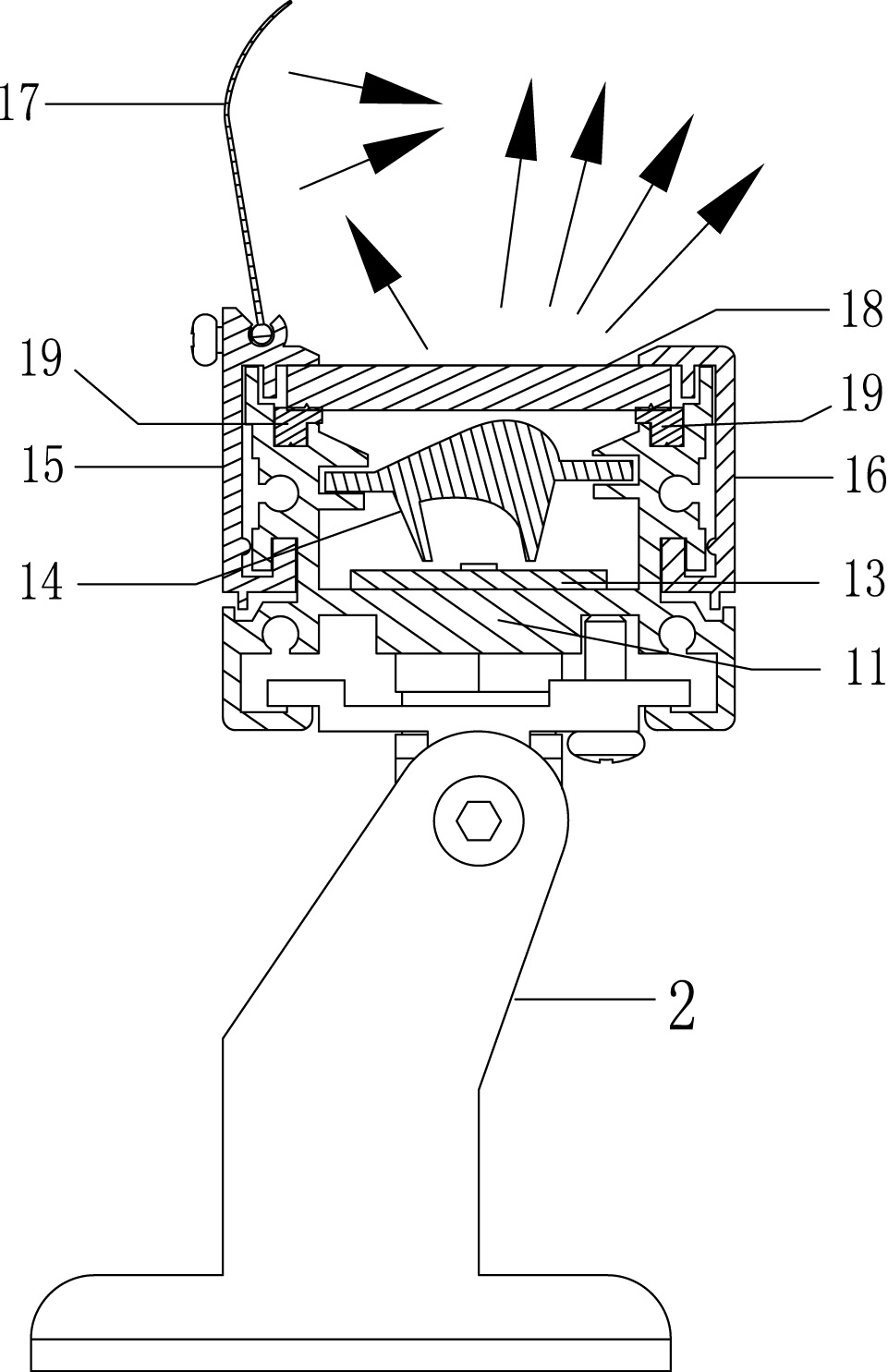
本实用新型公开了一种可调角度的偏光LED洗墙灯,包括洗墙灯主体和连接洗墙灯主体下端的旋转支架,洗墙灯主体包括散热灯壳、端盖、LED光源板、偏光透镜、左侧边条扣盖、右侧边条扣盖、防眩反射挡板和钢化超白玻璃,散热灯壳的前后端与端盖盖合,散热灯壳的下端与旋转支架安装连接,散热灯壳两侧连接左侧边条扣盖和右侧边条扣盖,左侧边条扣盖上端与防眩反射挡板可旋转连接,LED光源板置于散热灯壳内部的底部,偏光透镜置于LED光源板上方,钢化超白玻璃限位安装在散热灯壳上端与左侧边条扣盖、右侧边条扣盖形成的滑槽中。本实用新型的有益效果是:既解决传统洗墙灯局部高亮、均匀度低、眩光的问题,也解决LED光源发散的问题,提高洗墙灯照明效果。


