授权公布号:CN217571047U
用于盘状零件铣加工的夹具
有效
申请
2022-06-15
申请公布
1970-01-01
授权
2022-10-14
预估到期
2032-06-15
| 申请号 | CN202221490559.3 |
| 申请日 | 2022-06-15 |
| 授权公布号 | CN217571047U |
| 授权公告日 | 2022-10-14 |
| 分类号 | B23C9/00;B23Q3/06 |
| 分类 | 机床;不包含在其他类目中的金属加工; |
| 申请人名称 | 重庆秋田齿轮有限责任公司 |
| 申请人地址 | 重庆市大渡口区建桥工业园区建桥大道7号 |
专利法律状态
2022-10-14
授权
状态信息
授权
摘要
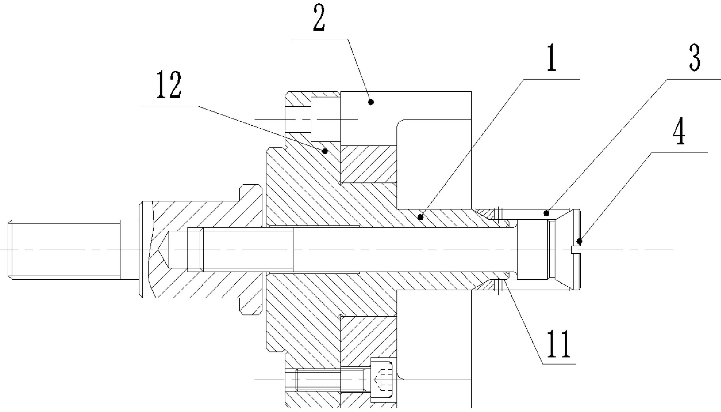
一种用于盘状零件铣加工的夹具,包括定位芯轴、拉杆、胀套,定位芯轴设有安装凸缘,安装凸缘上固定连接一定位盘,定位芯轴的前端设有外锥面,拉杆的前端设有圆锥头,该圆锥头的外锥面与定位芯轴的外锥面相向,拉杆的后端穿过定位芯轴的轴孔用于连接驱动装置,胀套为两端开槽的胀套,该胀套的内孔前、后两端孔口均设置有内锥面,胀套前端的内锥面与拉杆的外锥面配合,胀套后端的内锥面与定位芯轴的外锥面配合,定位盘设有轴向延伸的定位部,该定位部的轴端面齐平作为定位面,拉杆圆锥头的最大外径不大于胀套的外径。本实用新型可以一次装夹两个工件,提高工作效率。


