授权公布号:CN204886671U
用于操作开关调节器的系统
有效
申请
2015-04-07
申请公布
1970-01-01
授权
2015-12-16
预估到期
2025-04-07
| 申请号 | CN201520205328.7 |
| 申请日 | 2015-04-07 |
| 授权公布号 | CN204886671U |
| 授权公告日 | 2015-12-16 |
| 分类号 | H02M1/08;H03K17/16 |
| 分类 | 发电、变电或配电; |
| 申请人名称 | 意法半导体(中国)投资有限公司 |
| 申请人地址 | 上海市闵行区东川路555号丁楼4层 |
专利法律状态
2015-12-16
授权
状态信息
授权
摘要
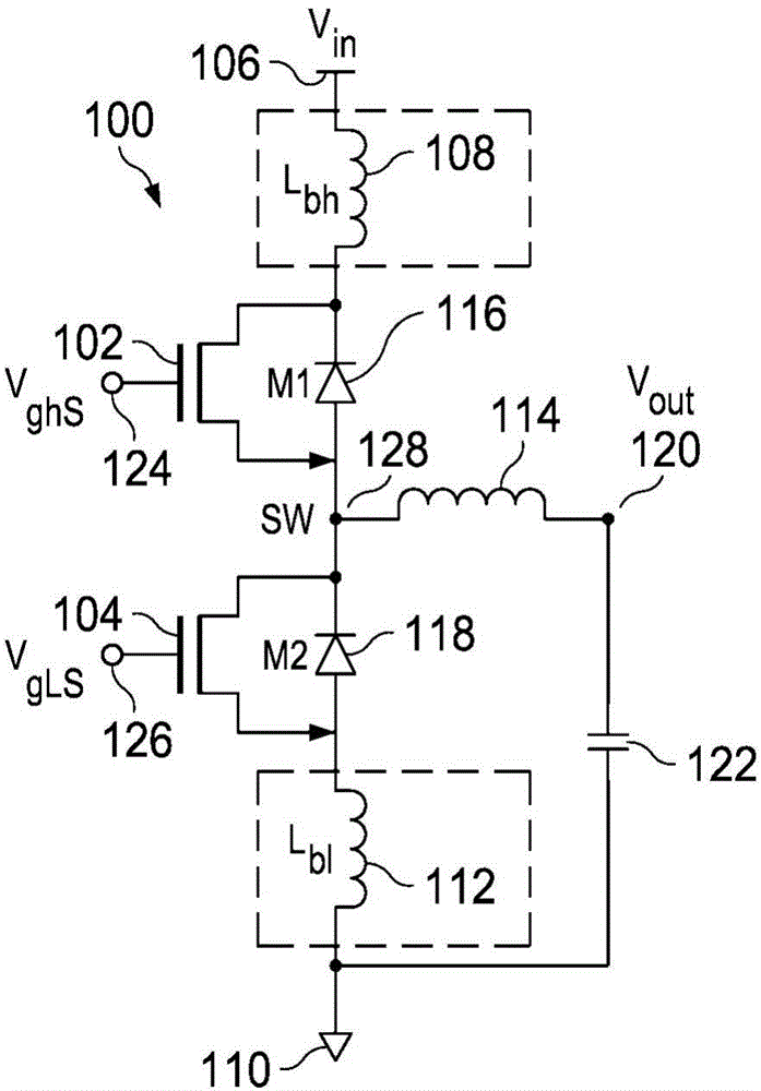
本文描述的实施例总的来说涉及用于操作开关调节器的系统。具体涉及一种开关调节器,其包括用于减少在调节器从一个晶体管开关切换到另一个时引起的传导发射。本文所讨论的开关调节器包括至少一个开关,其中二极管从至少一个晶体管的源极连接到其漏极。当调节器从一个晶体管开关切换到另一个时,本文所讨论的电路装置以相对较小的电流受限信号开始导通开关,等待横跨当前截止的开关的二极管完成反向恢复,然后快速地完全导通新开关。


