授权公布号:CN101188857B
高速切换过程中的时隙冲突控制方法及其移动通信终端
有效
申请
2006-11-15
申请公布
2008-05-28
授权
1970-01-01
预估到期
2026-11-15
| 申请号 | CN200610160360.3 |
| 申请日 | 2006-11-15 |
| 申请公布号 | CN101188857A |
| 申请公布日 | 2008-05-28 |
| 授权公布号 | CN101188857B |
| 分类号 | H04W72/02;H04B7/26 |
| 分类 | 电通信技术; |
| 申请人名称 | 瑞萨电子(中国)有限公司 |
| 申请人地址 | 北京市海淀区知春路27号量子芯座15、17层 |
专利法律状态
2013-07-10
专利权人的姓名或者名称、地址的变更
状态信息
专利权人的姓名或者名称、地址的变更;IPC(主分类):H04W 72/02;变更事项:专利权人;变更前:瑞萨电子(中国)有限公司;变更后:瑞萨电子(中国)有限公司;变更事项:地址;变更前:100191 北京市海淀区知春路27号11号楼7、8、9层;变更后:100191 北京市海淀区知春路27号量子芯座15、17层
2013-07-10
专利申请权、专利权的转移
状态信息
专利权的转移;IPC(主分类):H04W 72/02;变更事项:专利权人;变更前权利人:瑞萨电子(中国)有限公司;变更后权利人:瑞萨集成电路设计(北京)有限公司;变更事项:地址;变更前权利人:100191 北京市海淀区知春路27号量子芯座15、17层;变更后权利人:100191 北京市海淀区知春路27号量子芯座7层;登记生效日:20130614
2012-07-04
发明专利权授予
状态信息
授权
2009-02-04
专利申请权、专利权的转移(专利申请权的转移)
状态信息
专利申请权、专利权的转移(专利申请权的转移);变更项目:申请人;变更前权利人:恩益禧电子股份有限公司 ;申请人地址:日本神奈川;变更后权利人:日电电子(中国)有限公司 ;申请人地址:北京市海淀区知春路27号11号楼7、8、9层 邮政编码:100191;登记生效日:2009.1.9
2008-07-23
实质审查的生效
状态信息
实质审查的生效
2008-05-28
发明专利申请公布
状态信息
公布
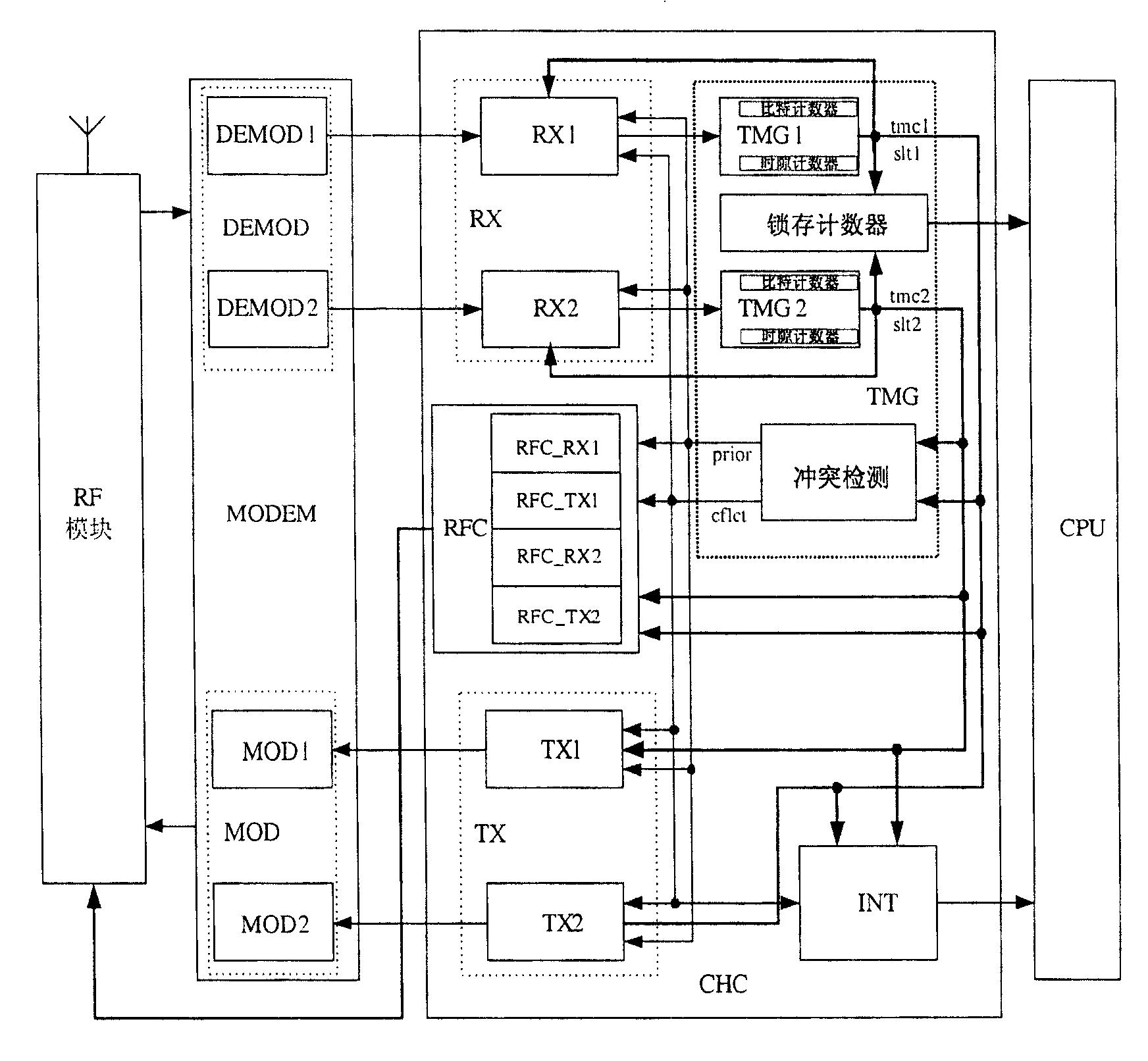
摘要
本发明公开了一种在移动通信系统中进行在高速切换时的时隙冲突控制方法及其使用该方法的移动通信终端。该时隙冲突控制方法包括下列步骤:a)搜索多个信道以确定所搜索信道和正在用于通信的当前信道的时隙信息;b)基于上述确定的时隙信息计算所搜索到的信道和当前信道的重叠;以及c)选择与当前信道重叠最小的信道。通过在基站的搜索阶段、业务信道请求阶段和业务信道的建立阶段采取冲突控制,使其高速切换的搜索时间比现有的PHS系统中的搜索时间大大缩短,有效地保证了通话的质量。


