授权公布号:CN218509356U
耐火窗窗框和耐火窗
有效
申请
2022-08-19
申请公布
1970-01-01
授权
2023-02-21
预估到期
2032-08-19
| 申请号 | CN202222188258.1 |
| 申请日 | 2022-08-19 |
| 授权公布号 | CN218509356U |
| 授权公告日 | 2023-02-21 |
| 分类号 | E06B5/16;E06B3/263;E06B3/62;E06B7/23;E06B7/28 |
| 分类 | 一般门、窗、百叶窗或卷辊遮帘;梯子; |
| 申请人名称 | 湖北永和安门业有限公司 |
| 申请人地址 | 湖北省孝感市汉川市城关镇城东工业园 |
专利法律状态
2023-02-21
授权
状态信息
授权
摘要
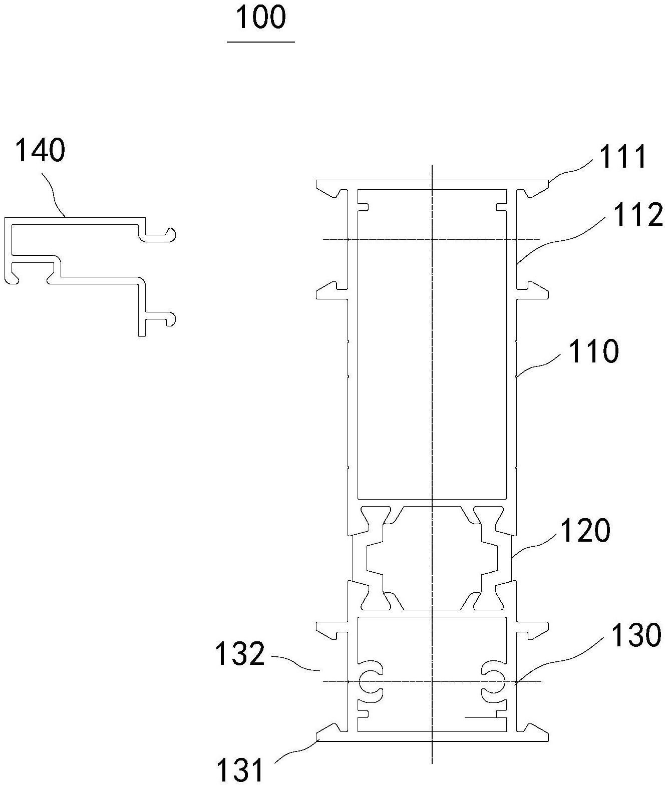
本实用新型涉及防火窗领域,具体而言,涉及一种耐火窗窗框和耐火窗。该耐火窗窗框包括第一分部、隔热分部、第二分部以及至少一个压线条;其中,第一分部、隔热分部及第二分部依次连接;沿第一分部至第二分部的方向,第一分部的两个侧面均设置有第一连接部,第二分部的两个侧面均设置有第二连接部;第一连接部及第二连接部均用于与压线条连接。该耐火窗窗框在安装的过程中,第一分部及第二分部分别朝向室内及室外安装,从而能够使得位于第一分部与第二分部之间的隔热分部能够隔离室内或室外的火情;由此,耐火窗通过采用上述的耐火窗窗框,能够简化耐火窗的结构简单,简化耐火窗的安装步骤,并提高耐火窗的防火性能。


