授权公布号:CN215142490U
一种前处理刷洗机
有效
申请
2020-11-26
申请公布
1970-01-01
授权
2021-12-14
预估到期
2030-11-26
| 申请号 | CN202022788106.6 |
| 申请日 | 2020-11-26 |
| 授权公布号 | CN215142490U |
| 授权公告日 | 2021-12-14 |
| 分类号 | B08B1/04 |
| 分类 | 清洁; |
| 申请人名称 | 湖北永和安门业有限公司 |
| 申请人地址 | 湖北省孝感市汉川市人民大道138号 |
专利法律状态
2021-12-14
授权
状态信息
授权
摘要
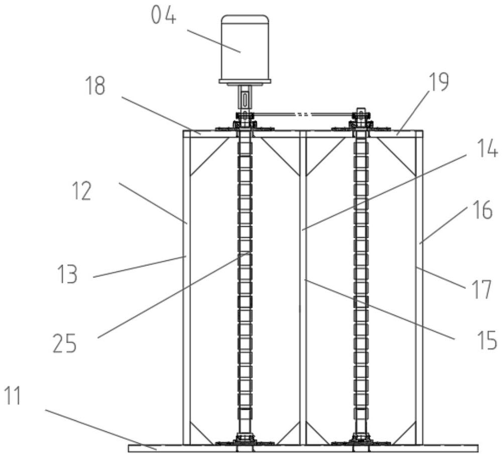
本实用新型涉及提供一种前处理刷洗机。该前处理刷洗机包括机架、第一刷辊、第二刷辊、第三刷辊、第四刷辊、橡胶刷体、第一刷辊固定机构、第二刷辊固定机构、第三刷辊固定机构、第四刷辊固定机构、调速电机、传动固定架、第一传动带、第二传动带以及第三传动带。该前处理刷洗机通过相对设置的转动方向不同的刷辊能有效解决刷洗不均匀的情况,刷毛采用间隔布置的橡胶刷毛,通过摩擦力的作用能够全面提升刷洗的效果,整体上提高工艺处理的效果。


