授权公布号:CN212837427U
一种凹凸镶嵌式门框结构
有效
申请
2020-04-03
申请公布
1970-01-01
授权
2021-03-30
预估到期
2030-04-03
| 申请号 | CN202020475296.3 |
| 申请日 | 2020-04-03 |
| 授权公布号 | CN212837427U |
| 授权公告日 | 2021-03-30 |
| 分类号 | E05D5/02;E05D11/00;E06B3/36;E06B3/70;E05D7/04;E06B5/11;E06B1/52 |
| 分类 | 一般门、窗、百叶窗或卷辊遮帘;梯子; |
| 申请人名称 | 浙江神将门业有限公司 |
| 申请人地址 | 浙江省金华市武义县泉溪镇金岩山工业区 |
专利法律状态
2021-03-30
授权
状态信息
授权
摘要
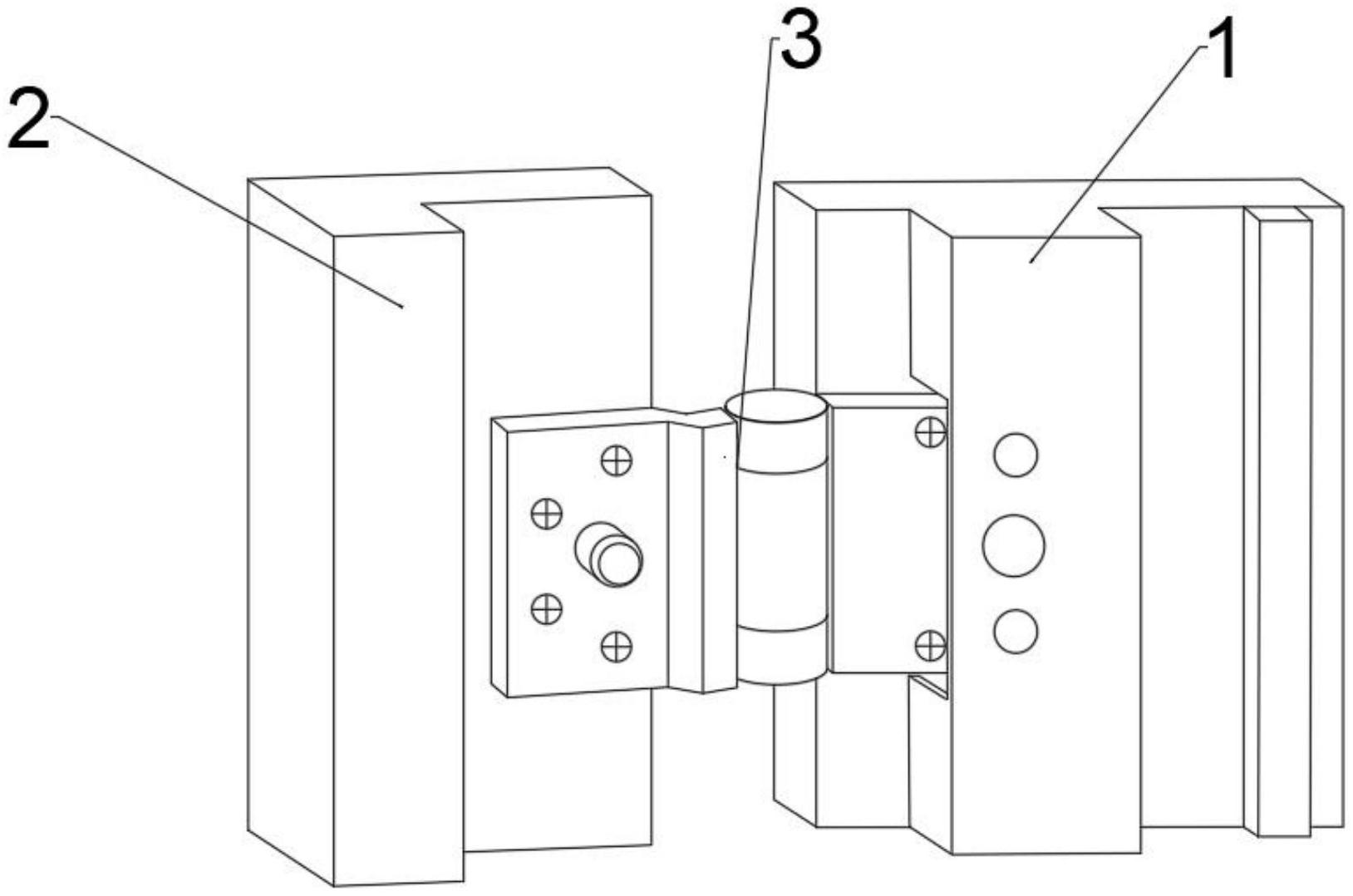
本实用新型的目的是提供一种门与门框配合采用了弓形的结构,且铰链上设有了与门框体配合的二次锁止结构,防止小偷破坏铰链及铰链破坏后可直接进入室内的一种凹凸镶嵌式门框结构。一种凹凸镶嵌式门框结构,其组成包括:门扇、铰链和门框,其特征在于:所述门框包括门框凸台,所述门框凸台设有两个螺丝调节孔,所述螺丝调节孔之间设有锁栓孔,所述门框凸台设有铰链槽,所述铰链槽设有铰链,所述铰链包括铰链凸台,所述铰链设有锁栓,所述铰链连接设有门扇,所述门扇设有门扇凸台。


