授权公布号:CN109962103B
三极管及其制造方法
有效
申请
2017-12-22
申请公布
2019-07-02
授权
2023-12-22
预估到期
2037-12-22
| 申请号 | CN201711408816.8 |
| 申请日 | 2017-12-22 |
| 申请公布号 | CN109962103A |
| 申请公布日 | 2019-07-02 |
| 授权公布号 | CN109962103B |
| 授权公告日 | 2023-12-22 |
| 分类号 | H01L29/732;H01L29/06;H01L21/31;H01L21/331 |
| 分类 | 基本电气元件; |
| 申请人名称 | 杭州士兰微电子股份有限公司 |
| 申请人地址 | 浙江省杭州市西湖区黄姑山路4号 |
专利法律状态
2023-12-22
授权
状态信息
授权
2019-07-02
公布
状态信息
公布
摘要
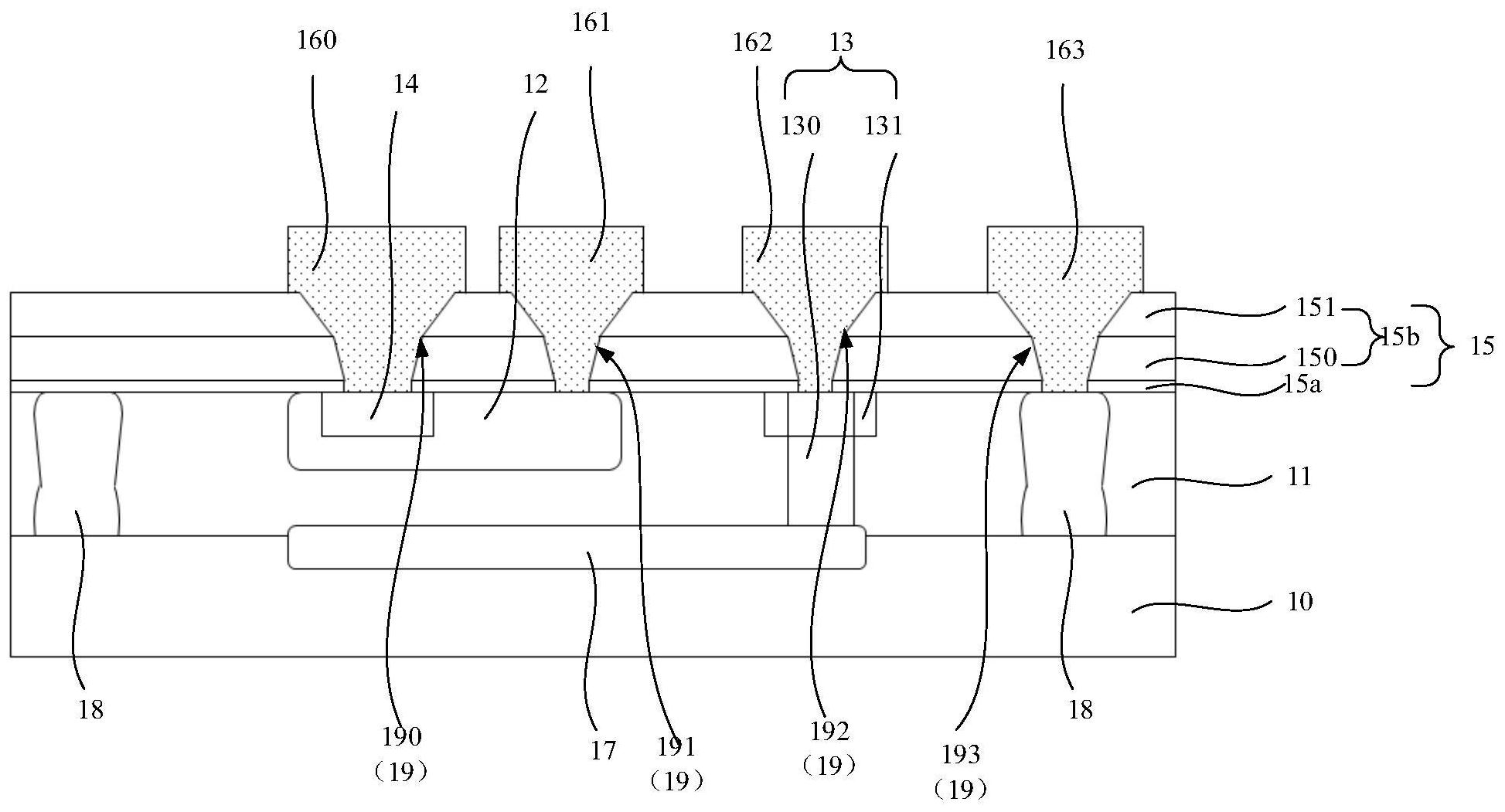
本发明提供了一种三极管及其制造方法,包括介质层,其中,靠近所述第二导电类型外延层的部分厚度的介质层的致密度比远离所述第二导电类型外延层的部分厚度的介质层的致密度高,由此能够在所述介质层中形成的引线孔为斜面引线孔,所述引线孔的截面宽度自靠近所述第二导电类型外延层一端向远离所述第二导电类型外延层的一端变大,所述斜面引线孔可以让金属电极在引线孔斜面台阶处覆盖的最薄厚度达到平坦处的70%以上。进一步的,引线孔台阶覆盖良好的第一金属电极、第二金属电极及第三金属电极实现了三极管可稳定工作在大电流下。


