授权公布号:CN220596231U
木门裁切的辅助自动上料装置
有效
申请
2023-08-18
申请公布
1970-01-01
授权
2024-03-15
预估到期
2033-08-18
| 申请号 | CN202322239850.4 |
| 申请日 | 2023-08-18 |
| 授权公布号 | CN220596231U |
| 授权公告日 | 2024-03-15 |
| 分类号 | B65G47/82;B65G37/00;B65G15/12;B65G59/02 |
| 分类 | 输送;包装;贮存;搬运薄的或细丝状材料; |
| 申请人名称 | 浙江宝龙工贸有限公司 |
| 申请人地址 | 浙江省金华市武义县泉溪镇茆角工业区世纪路19号(浙江武义展润健身器材有限公司内) |
专利法律状态
2024-03-15
授权
状态信息
授权
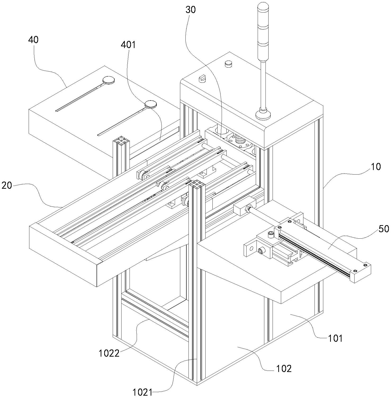
摘要
本实用新型公开了木门裁切的辅助自动上料装置,包括机柜,机柜内设有抬升机构且抬升机构上连接有升降台;机柜的左右两侧设有裁切架和推料机构,升降台上设有前、后输送机构,裁切架和推料机构位于后输送机构的两侧且裁切架上设有水平的推入孔,推料机构的输出端从左至右将升降台后侧的门板推送至推入孔内通过安装于裁切架上的裁切机对门板进行裁切。本申请中,将木板堆叠放置于升降台上,通过抬升机构抬升后经推料机构推送至裁切架处通过裁切机进行裁切,当顶层的门板被推走裁切完成后,升降台继续抬升一块门板厚度的高度并推送裁切,直至所有的门板裁切完成;相较于机械手吸取的上料结构,该装置具有占地小、成本低、效率高的优点。


