授权公布号:CN205638146U
一种增强耐火完整性的单开钢质隔热防火门扇
有效
申请
2016-03-25
申请公布
1970-01-01
授权
2016-10-12
预估到期
2026-03-25
| 申请号 | CN201620239771.0 |
| 申请日 | 2016-03-25 |
| 授权公布号 | CN205638146U |
| 授权公告日 | 2016-10-12 |
| 分类号 | E06B5/16;E06B3/70 |
| 分类 | 一般门、窗、百叶窗或卷辊遮帘;梯子; |
| 申请人名称 | 河北九安防火门制造集团有限公司 |
| 申请人地址 | 河北省保定市七一东路民营科技产业园凤栖街531号 |
专利法律状态
2016-10-12
授权
状态信息
授权
摘要
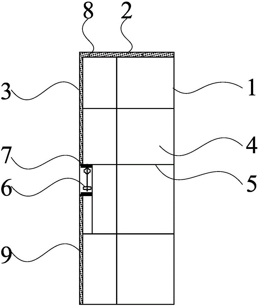
本实用新型公开了一种增强耐火完整性的单开钢质隔热防火门扇,包括门扇,所述门扇的上堵头内和所述门扇的锁立面内均填充有无机耐火泥,所述门扇内部填充有多块珍珠岩,所述珍珠岩间由无机耐火泥拼接,此种结构可以使门扇达到1.5小时以上的耐火极限,满足甲级门的要求。本实用新型采用上述结构的增强耐火完整性的单开门扇,能够提高防火门的耐火隔热性,保证防火门操作的可控性和可实现性,同时提高了生产效率,降低了生产成本。


