授权公布号:CN215589673U
一种生物降解膜生产用的混料机
有效
申请
2021-08-04
申请公布
1970-01-01
授权
2022-01-21
预估到期
2031-08-04
| 申请号 | CN202121822577.2 |
| 申请日 | 2021-08-04 |
| 授权公布号 | CN215589673U |
| 授权公告日 | 2022-01-21 |
| 分类号 | B29B7/76;B29B7/16;B29B7/24 |
| 分类 | 塑料的加工;一般处于塑性状态物质的加工; |
| 申请人名称 | 山东龙兴塑膜科技股份有限公司 |
| 申请人地址 | 山东省潍坊市寿光市侯镇项目区新华西路以西 |
专利法律状态
2022-01-21
授权
状态信息
授权
摘要
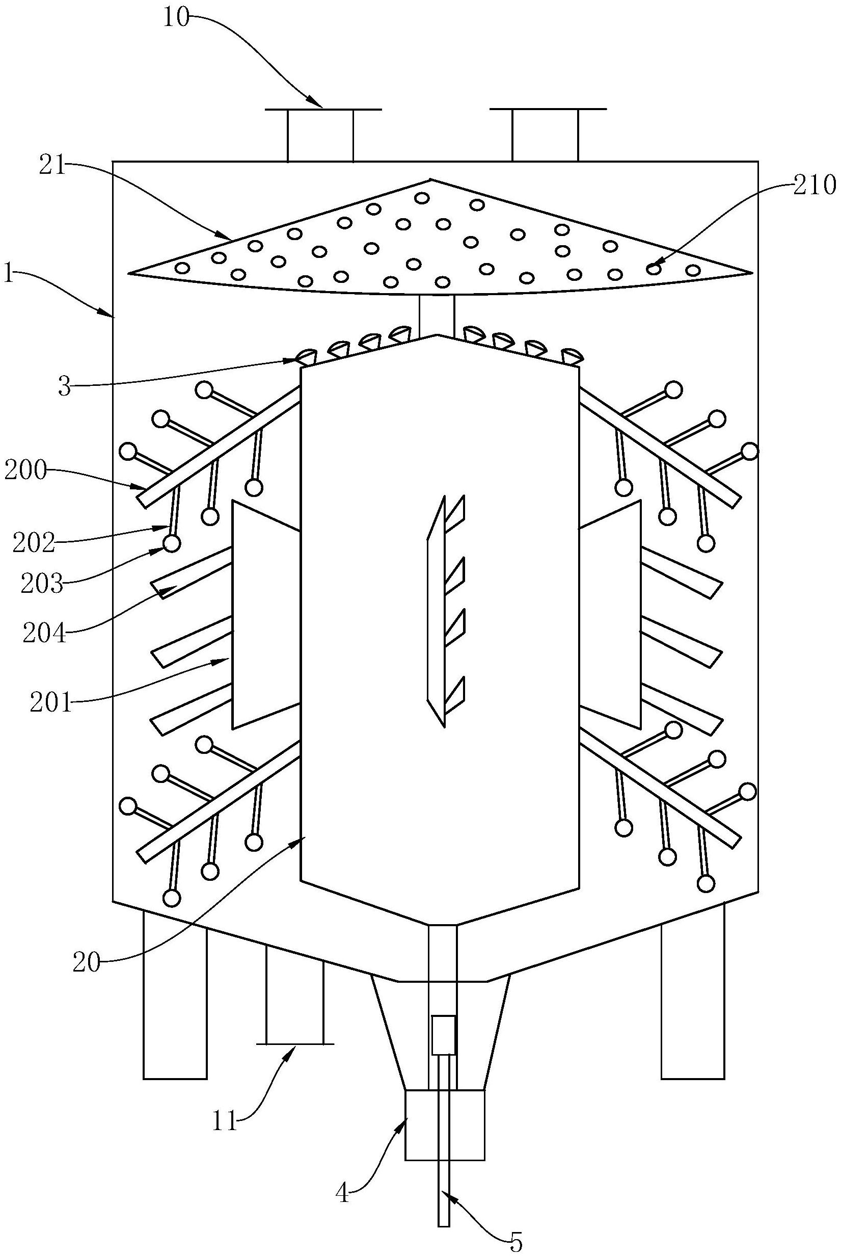
本实用新型涉及薄膜生产技术领域,尤其涉及一种生物降解膜生产用的混料机,包括本体,所述本体的顶部设有多个进料口,本体的底部设有出料口,本体的内部设有混料装置,所述混料装置包括中空结构的混料本体,混料本体连通气流输送管道,所述混料本体的上部设有物料分散结构,混料本体的外壁上设有多个与所述混料本体相连通的喷嘴,混料本体通过电机驱动。利用该装置大大提高了混合效率,物料混合更加均匀。


