授权公布号:CN217889596U
一种全自动锁芯钻孔机
有效
申请
2022-04-22
申请公布
1970-01-01
授权
2022-11-25
预估到期
2032-04-22
| 申请号 | CN202220943103.1 |
| 申请日 | 2022-04-22 |
| 授权公布号 | CN217889596U |
| 授权公告日 | 2022-11-25 |
| 分类号 | B23B47/00;B23Q11/00;B23Q11/10 |
| 分类 | 机床;不包含在其他类目中的金属加工; |
| 申请人名称 | 广东电白汉山锁业有限公司 |
| 申请人地址 | 广东省茂名市电白区岭门镇汉山路1号 |
专利法律状态
2022-11-25
授权
状态信息
授权
摘要
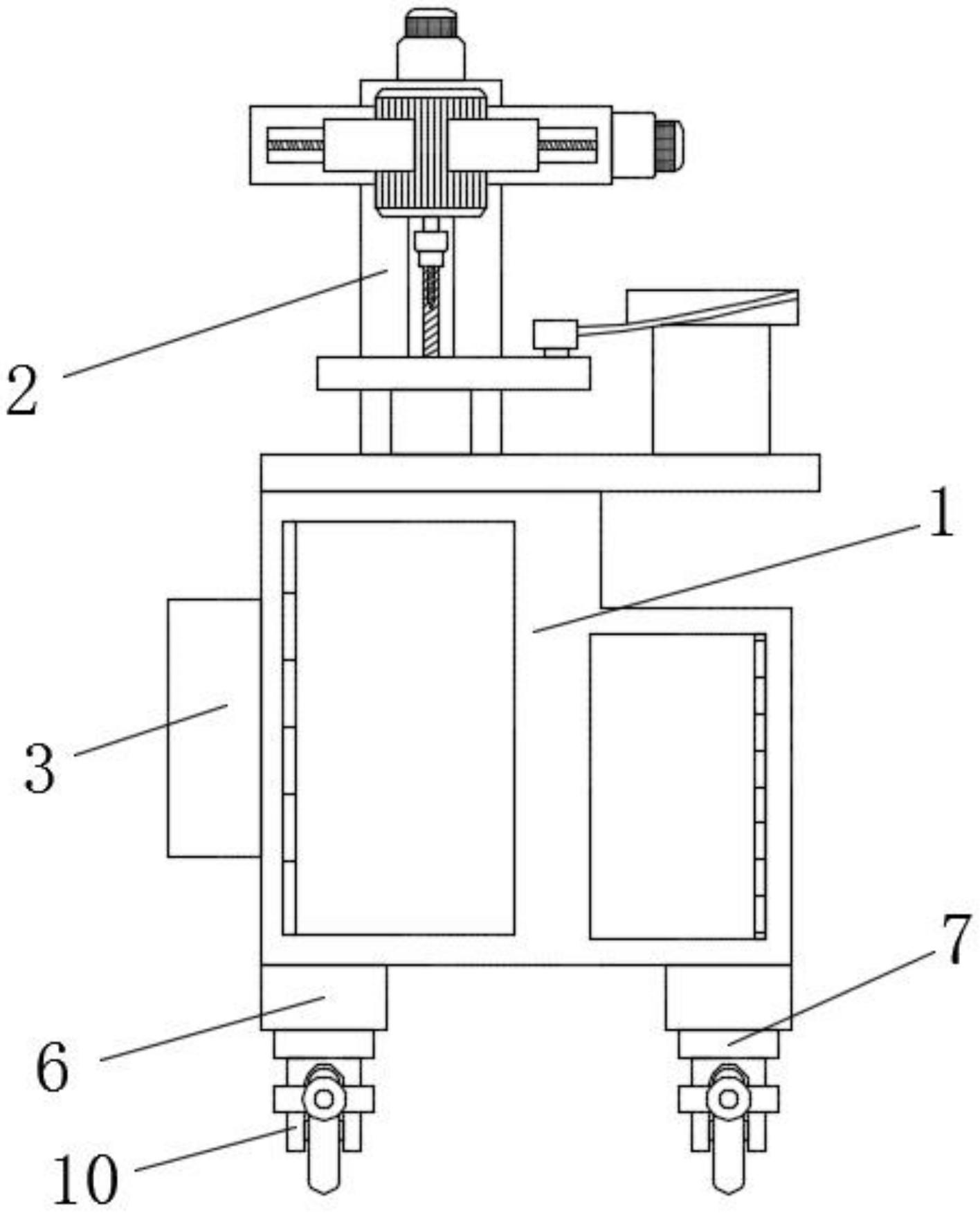
本实用新型涉及锁芯加工设备技术领域,且公开了一种全自动锁芯钻孔机,包括机箱,所述机箱的顶部安装有钻孔机本体,所述机箱的一侧连通有散热壳体,所述散热壳体的内部设置有散热风扇;本实用新型通过该全自动锁芯钻孔机的机箱上面安装有散热壳体,在经过散热壳体内部安装有散热风扇和制冷管,加速外部风流进入机箱的内部的同时,也对风流进行制冷,使其冷风对元件降温的效果更好,提高散热的速度,通过减震壳体的内部安装有减震块,减震块和减震壳体之间安装有复位弹簧和限位伸缩杆的使用,可以使该装置在进行运输时,可以吸收颠簸时所产生的势能,降低该装置因颠簸所造成的伤害,提高了运输时的安全性。


