授权公布号:CN212453961U
一种锁具的斜舌
有效
申请
2020-05-28
申请公布
1970-01-01
授权
2021-02-02
预估到期
2030-05-28
| 申请号 | CN202020935250.5 |
| 申请日 | 2020-05-28 |
| 授权公布号 | CN212453961U |
| 授权公告日 | 2021-02-02 |
| 分类号 | E05B15/10 |
| 分类 | 锁;钥匙;门窗零件;保险箱; |
| 申请人名称 | 浙江航鹰锁业有限公司 |
| 申请人地址 | 浙江省金华市永康市经济开发区金山东路8号 |
专利法律状态
2021-02-02
授权
状态信息
授权
摘要
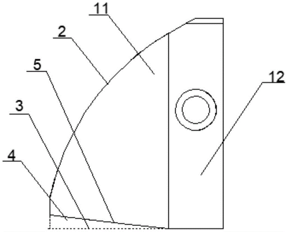
本实用新型公开了一种锁具的斜舌,涉及门锁领域。包括斜舌本体,所述斜舌本体包括用于与锁孔外壁配合的弧面和用于与锁孔配合的接触面,所述接触面上设置有缺口部,所述缺口部的上端面为斜面。本实用新型的一种锁具的斜舌在通用斜舌的基础上开设了缺口部,使门具制造厂在生产时,可直接将锁孔设置为通用的23cm,不用考虑预留间隙大小,而是通过缺口部的斜面对误差进行补偿,相对于在斜舌本体上设置补偿筋,锁厂可直接将本实用新型替换至锁盒上,通用性强,生产成本低。


