授权公布号:CN212689775U
一种高安全性电子门锁
有效
申请
2020-06-05
申请公布
1970-01-01
授权
2021-03-12
预估到期
2030-06-05
| 申请号 | CN202021011779.4 |
| 申请日 | 2020-06-05 |
| 授权公布号 | CN212689775U |
| 授权公告日 | 2021-03-12 |
| 分类号 | E05B17/00;H02J9/04;E05B47/00;E05B49/00 |
| 分类 | 锁;钥匙;门窗零件;保险箱; |
| 申请人名称 | 浙江航鹰锁业有限公司 |
| 申请人地址 | 浙江省金华市永康市经济开发区金山东路8号 |
专利法律状态
2021-03-12
授权
状态信息
授权
摘要
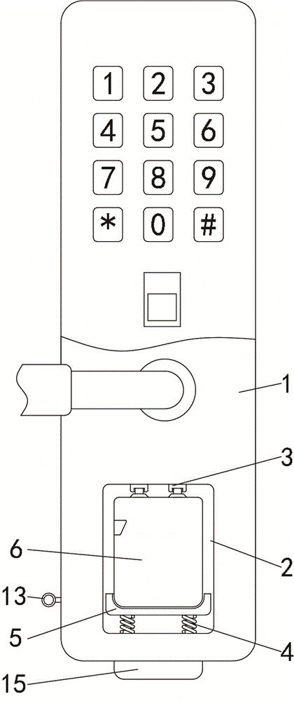
本实用新型涉及电子门锁技术领域,且公开了一种高安全性电子门锁,包括锁体,所述锁体的前侧开设有电池槽,所述电池槽的槽内顶壁设置有与锁体电连接的接电触点,所述电池槽的槽内底壁固定安装有第一弹簧,所述第一弹簧的顶部固定连接有托板,所述托板与接电触点之间活动安装有放电端和底部分别与接电触点和托板接触的第一电池,所述锁体的底部开设有位于电池槽后侧的储存槽,所述储存槽的槽内顶壁固定安装有第二弹簧,所述第二弹簧的底部固定安装有接触板,所述锁体的内部开设有右侧与储存槽连通的锁槽,所述锁槽的槽内左侧壁固定安装有第三弹簧。该高安全性电子门锁,具备了可防止因电池断电导致无法打开房门的优点。


