授权公布号:CN217201564U
电梯层门地坎组件
有效
申请
2022-02-16
申请公布
1970-01-01
授权
2022-08-16
预估到期
2032-02-16
| 申请号 | CN202220308543.X |
| 申请日 | 2022-02-16 |
| 授权公布号 | CN217201564U |
| 授权公告日 | 2022-08-16 |
| 分类号 | B66B13/30 |
| 分类 | 卷扬;提升;牵引; |
| 申请人名称 | 巨人通力电梯有限公司 |
| 申请人地址 | 浙江省湖州市南浔区吴越路西侧 |
专利法律状态
2022-08-16
授权
状态信息
授权
摘要
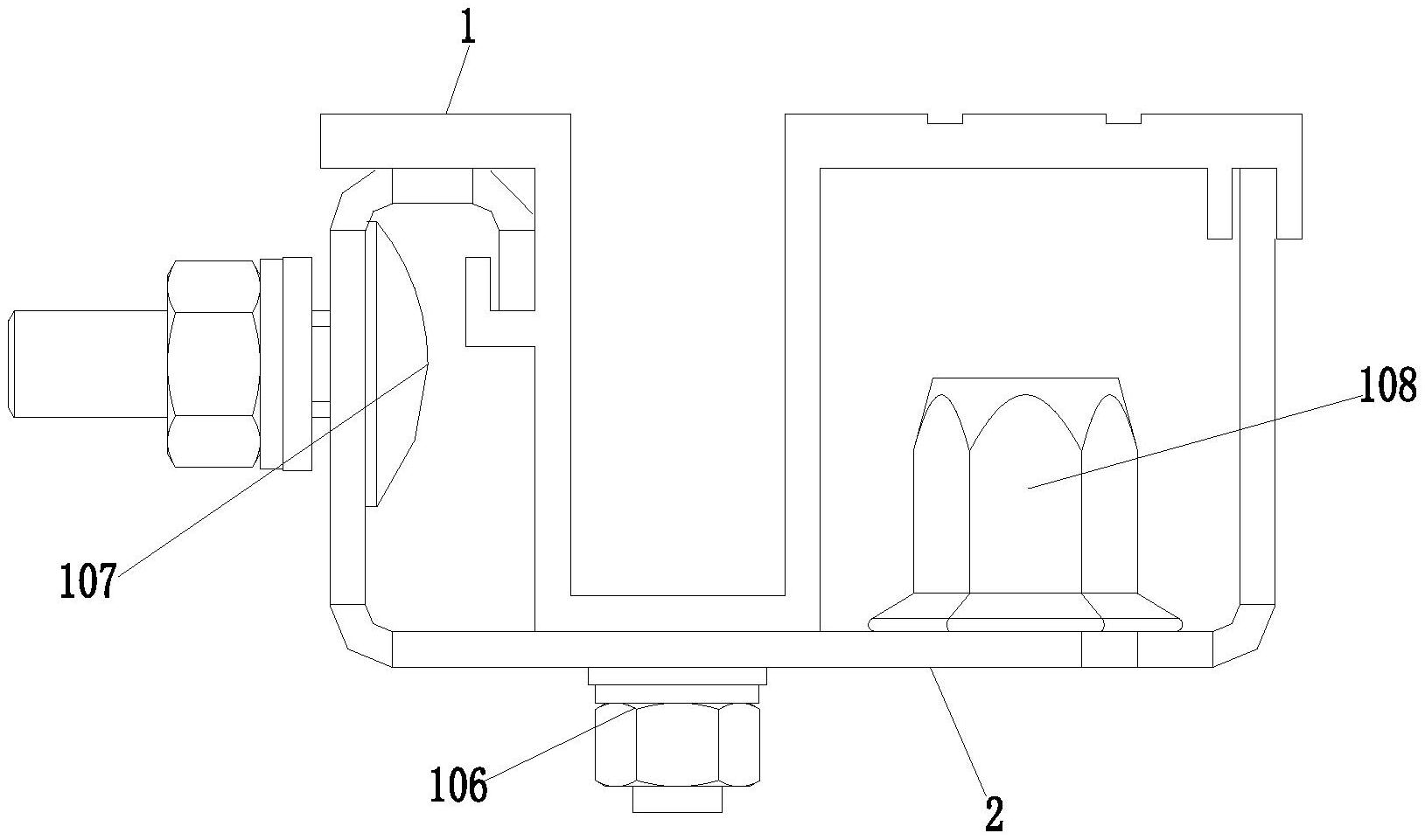
本实用新型公开了一种电梯层门地坎组件,包括地坎铝型材(1),地坎铝型材(1)下方设有地坎托板(2);所述地坎铝型材(1)包括地坎型材本体(101),地坎型材本体(101)上表面设有滑块导向槽(102),地坎型材本体(101)下表面设有位于滑块导向槽(102)外侧的第一卡槽(103)。本实用新型具有能够有效降低生产成本的特点。


